EasyManua.ls Logo

Agilent Technologies 8590L - Page 230

Agilent Technologies 8590L
673 pages
Print Icon
To Next Page IconTo Next Page
To Next Page IconTo Next Page
To Previous Page IconTo Previous Page
To Previous Page IconTo Previous Page
Loading...
Chapter 4 231
Troubleshooting the Analyzer
Troubleshooting the A2 Display Assembly
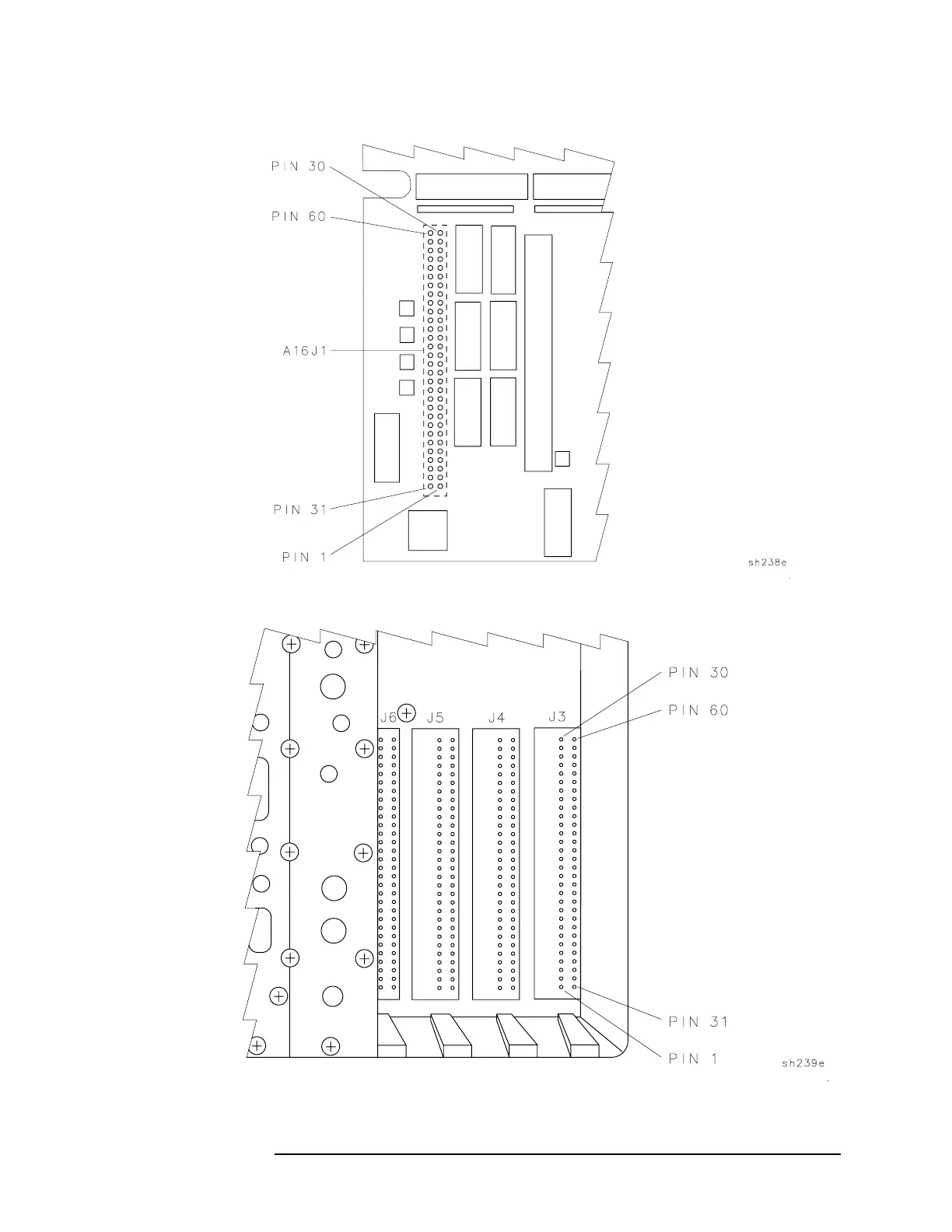
Figure 4-5 A16J1 Connector-Pin Orientation
Figure 4-6 Card-Cage Connector-Pin Orientation

Table of Contents

Related product manuals