EasyManua.ls Logo

Allen-Bradley micrologix 1500 - 1764-28 BXB Wiring Diagram with Sourcing Outputs

Allen-Bradley micrologix 1500
174 pages
Print Icon
To Next Page IconTo Next Page
To Next Page IconTo Next Page
To Previous Page IconTo Previous Page
To Previous Page IconTo Previous Page
Loading...
Publication 1764-UM001B-EN-P - April 2002
Wiring Your Controller 3-15
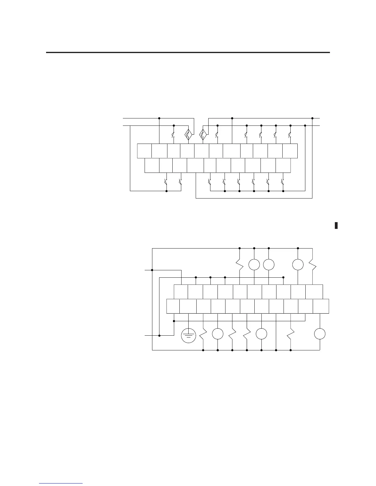
1764-28BXB Wiring Diagram with Sourcing Outputs
Input Terminals
Output Terminals (FET Outputs Are Sourcing Only)
IN 9
NOT
USED
IN 0 IN 2
DC
COM 1
IN 5
IN 7 IN 8
IN 10
NOT
USED
DC
COM 0
IN 1
IN 3 IN 4 IN 6
DC
COM 2
IN 11
IN 15
IN 14
IN 13
IN 12
+DC
-DC
+DC
-DC
“NOT USED” terminals are not intended for use as connection points.
+24V
OUT 10OUT 9
VAC/
VDC 3
OUT 7
OUT 5
OUT 3VDC 2
VAC/
VDC 1
VAC/
VDC 0
COM
OUT 11
VAC/
VDC 4
OUT 8
VDC
COM 2
OUT 6
OUT 4
OUT 2
OUT 1OUT 0
EARTH
GND
CR CR CR
CR CR
-DC
+DC
CR

Table of Contents

Other manuals for Allen-Bradley micrologix 1500

Related product manuals