EasyManua.ls Logo

Atari 2600 - Page 117

Atari 2600
156 pages
Print Icon
To Next Page IconTo Next Page
To Next Page IconTo Next Page
To Previous Page IconTo Previous Page
To Previous Page IconTo Previous Page
Loading...
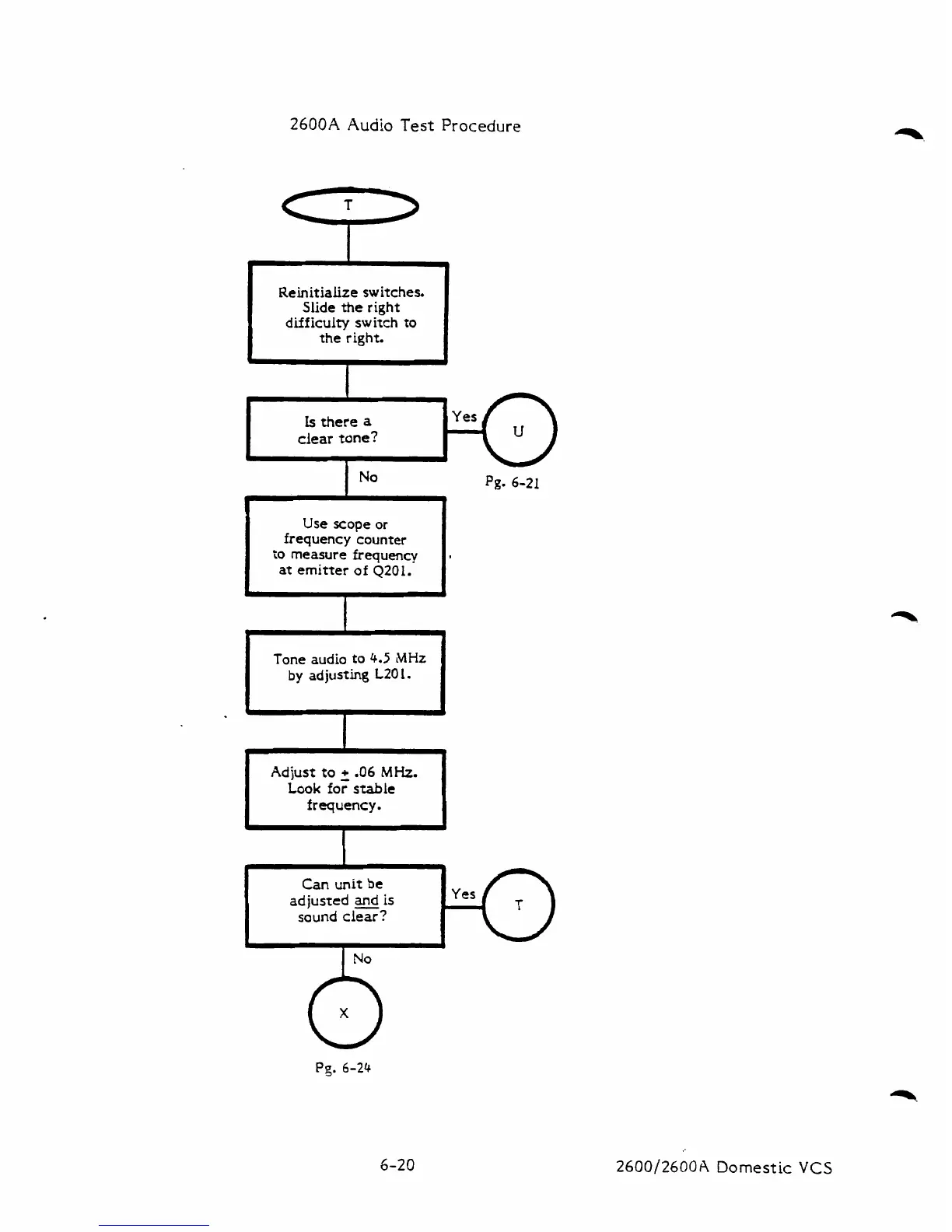
2600A
Audio
Test
Procedure
Reinitialize
switches.
Slide
the
right
difficulty
switch
to
the
right.
Is
there
a
clear
tone?
I
Use scope or
frequency
counter
to
measure
frequency
at emitter
of
4201.
I
Tone
audio
to
4.5
MHz
by
adjusting
L2O
I.
4
I
I
Ad
just
to
2.06
MHz.
Look
for
stable
frequency
.
I
I
Can
unit
be
.
-
/-
adjusted
g&
is
sound
clear?
Pg.
6-24
2600/2600A
Domestic
VCS

Table of Contents

Other manuals for Atari 2600

Related product manuals