EasyManua.ls Logo

Atari 2600 - Color Bars Test Procedure

Atari 2600
156 pages
Print Icon
To Next Page IconTo Next Page
To Next Page IconTo Next Page
To Previous Page IconTo Previous Page
To Previous Page IconTo Previous Page
Loading...
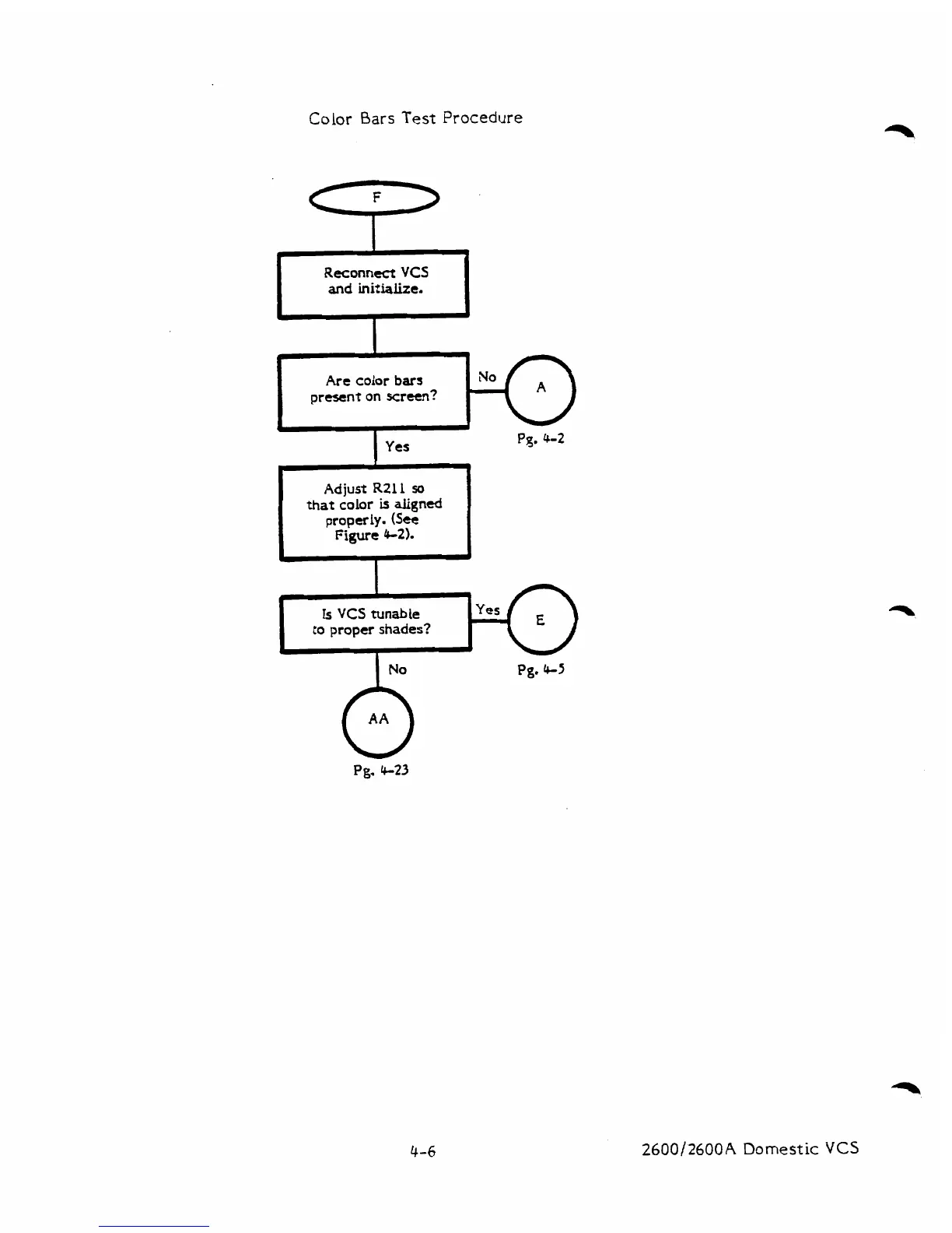
Color
Bars
Test
Procedure
and
initialhe.
u
I
Are
color
bars
mesent
on
screen?
Pq*
4-2
Ad
just
R211
SO
that
color
is
aligned
properly.
(See
Figure
4-21.
I
Is
VCS
tunable
to
proper
shades?
Pg.
4-23
-
2600/2600A
Domestic
VCS

Table of Contents

Other manuals for Atari 2600

Related product manuals