EasyManua.ls Logo

Atari 2600 - Bad;No Color, Bad;No Sound Switchboard

Atari 2600
156 pages
Print Icon
To Next Page IconTo Next Page
To Next Page IconTo Next Page
To Previous Page IconTo Previous Page
To Previous Page IconTo Previous Page
Loading...
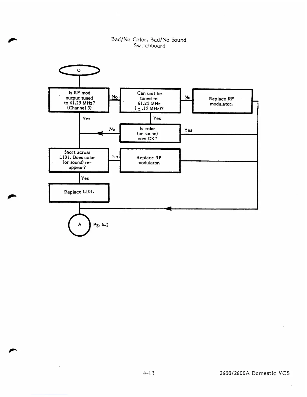
Bad/No
Color,
Bad/No
Sound
Switchboard
No
Is
color
Yes
I
(or
sound)
I
now
OK?
J
b
I
li
L
Is
RF
mod
Can
unit
be
output
tuned
No
tuned to No Replace
RF
to 61.25
MHz?
61.25
MHz
modulator.
(Channel
3)
(
2
-15
MHz)?
b
Replace
LIOL.
u
1
I
I
2600/2600A
Domestic
VCS
Yes
I
L
L
Replace
RF
modulator.
4
Short
across
L
10
I.
Does
color
(or
sound)
re-
appear?
w'
No
I
I

Table of Contents

Other manuals for Atari 2600

Related product manuals