Home
BERGHOF
Controller
DC2004
Page 33 (Block Circuit Diagram, ET20 XX)
BERGHOF DC2004 - Block Circuit Diagram, ET20 XX
92 pages
Manual
Save Page as PDF
To Next Page
To Next Page
To Previous Page
To Previous Page
Loading...
USER HANDBOOK 2.0
|
DC20XX, ET20XX, ECC21XX SLIM
Berghof
Auto
mation GmbH | Har
retstrasse 1 | 72800
Eningen | ww
w
.berghof.com
Dialog
-
Control
ler
-
DC20XX
_EN.docx
33
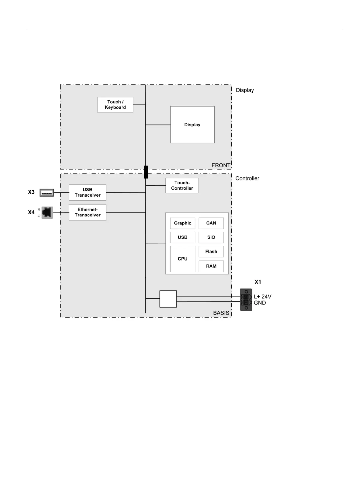
5.2.3.
Block
circuit diagram, ET20XX
Fig.
19
: Blo
ck circuit diagra
m
, ET20
XX
32
34
Table of Contents
Main Page
Default Chapter
4
Table of Contents
4
1 General Information
7
Notes on the Handbook
7
Symbols and Visual Depictions
7
Hazard Categories and Indications
8
Qualified Personnel
8
Duty of Care
9
Intended Use
9
Transport and Storage
10
Unpacking
10
2 Safety
11
Safety Instructions
11
3 Product Description
12
Overview
13
Overview DC2004
13
Overview DC2007
14
Overview ET2004
15
Overview ET2007
16
Overview ECC2100 Slim and ECC2110 Slim
17
Scope of Delivery and Accessories
18
Product Features
18
4 Installation
21
Preparation for Installation, DC20XX and ET20XX
21
Installation Cut-Out, DC2004 and ET2004
21
Installation Cut-Out, DC2007 and ET2007
23
Installation, DC20XX and ET20XX
25
Installation, ECC21XX Slim
27
5 Connection
28
Power Supply
28
Connecting the Power Supply to the DC20XX and ECC21XX Slim
29
Connecting the Power Supply to the ET20XX
30
Data Connections
31
Block Circuit Diagram, DC20XX
31
Block Circuit Diagram, ECC21XX Slim
32
Block Circuit Diagram, ET20XX
33
Digital Inputs and Outputs, DC20XX and ECC21XX Slim
34
Ethernet
38
Ethercat
39
Usb
40
Serial Interfaces
42
Signal Interference and Terminating Resistor
43
Connections with GND
43
CAN Bus
44
Analogue Inputs
45
Basic Considerations for Analogue Inputs
45
Data from Analogue Inputs
46
Operating Modes for the Analogue Inputs
47
Voltage Input AI (U)
49
Temperature Measurement AI (T)
50
6 Operation
52
Switching on and off
52
Network Start-Up
53
Dc20Xx
53
Et20Xx
55
ECC21XX Slim
58
Operation
61
Status Displays
61
Location of the Operating Status Leds
61
Meaning of the LED Displays
62
Start/Stop
62
Real Time Clock with Battery Back-Up DC20XX and ECC21XX Slim
63
Microsd Card
63
Troubleshooting
64
No Network Connection
64
In Error Stop Mode for the DC20XX/ECC21XX Slim
64
Unknown IP-Address on the ECC21XX Slim
64
7 Maintenance/Upkeep
65
Maintenance
65
Cleaning
66
Chemical Resistance
66
Resistance of the Touch Screen
66
Resistance of the Front Diaphragm
67
8 Uninstallation
70
Uninstallation, DC20XX and ET20XX
70
Uninstallation, ECC21XX Slim
72
9 Disposal
73
10 Technical Data
74
DC20XX Dialog Controller
74
ET20XX Ethernet Terminal
77
ECC21XX Slim Ethernet Controller
79
Identification Plate
81
Identification
82
11 Standards and Certificates
84
Standards
84
UL Certificate
85
Declaration of Conformity
88
Notes on Copyright and Software Licences
89
12 Customer Services / Addresses
90
Customer Services
90
Addresses
90
13 Appendix
91
Table of Figures
91
Related product manuals
BERGHOF DC1005
88 pages