EasyManua.ls Logo

Beurer BG 21 - Baterie; Pomiar Wyłącznie Masy Ciała; Uruchomienie; Ustawianie Danych Użytkownika

Beurer BG 21
Print Icon
To Next Page IconTo Next Page
To Next Page IconTo Next Page
To Previous Page IconTo Previous Page
To Previous Page IconTo Previous Page
Loading...
54
1.2Wskazówkiogólne
• Nieprzystosowanydoużytkumedycznegolubkomercyjnego.
• Proszępamiętać,żemożliwesąuwarunkowanetechnicznietolerancjepomiarowe,ponieważniejesttowaga
cechowana.
• Możliwośćnastawystopniwiekowychod10do100latorazustawieniawzrostuod100do225cm(3'03"do
7'05").Obciążenie:maks.180kg(397lb,28st.).Wynikiwkrokach100g(0,2lb,1/4st).Wynikipomiarówpro-
centowej zawartości tkanki tłuszczowej, mięśniowej i wody w krokach co 0,1%.
• Ustawionymi fabrycznie jednostkami wagi są centymetry i kilogramy. Z tyłu wagi znajduje się przełącznik służący
dozmianyjednostekna„funty”(lb)i„kamienie”(st).
• Wagęnależyustawićnastabilnympodłożu,cojestwarunkiemuzyskaniaprawidłowychpomiarów.
•
Od czasu do czasu wagę należy wyczyścić wilgotną ściereczką. Nie należy stosować agresywnych środków
czyszczącychiniewolnoczyścićwagipodstrumieniembieżącejwody.
• Urządzenienależychronićprzeduderzeniem,wilgocią,kurzem,chemikaliami,znacznymiwahaniamitempera-
turyizbytbliskimiźródłamiciepła(piece,grzejniki).
• NaprawymożnadokonywaćjedyniewpunkcieobsługiklientaBeurerlubwautoryzowanychpunktachsprzeda-
ży. Przed wniesieniem reklamacji prosimy o sprawdzenie stanu baterii i ich ewentualną wymianę.
2.Uruchomienie
2.1Baterie
Zerwaćtaśmęizolacyjnązpokrywypojemnikanabaterielubzerwaćtaśmęzabezpieczającabaterię,anastępnie
założyćjązgodniezbiegunowościądokomorynabaterie.Jeżeliwaganiepracuje,należywyjąćbaterięcałkowicie
izałożyćjąznowu.Wagaposiadawskaźniksygnalizującykoniecznośćwymianybaterii.Wczasiestosowaniawagi
przy zbyt słabej baterii, na wyświetlaczu pojawia się napis „Lo” i waga zostaje automatycznie wyłączona. W takim
przypadkunależywymienićbaterięwagi(2baterielitowaonapięciu3V,typCR2032).
2.2Pomiarwyłączniemasyciała
Ustawićwagęnarównym,stałympodłożu(niedywan);stałepodłożejestnie-
zbędnedotego,abypomiarbyłprawidłowy.Należykrótkoisilniedotknąć
stopąpowierzchniwagi!
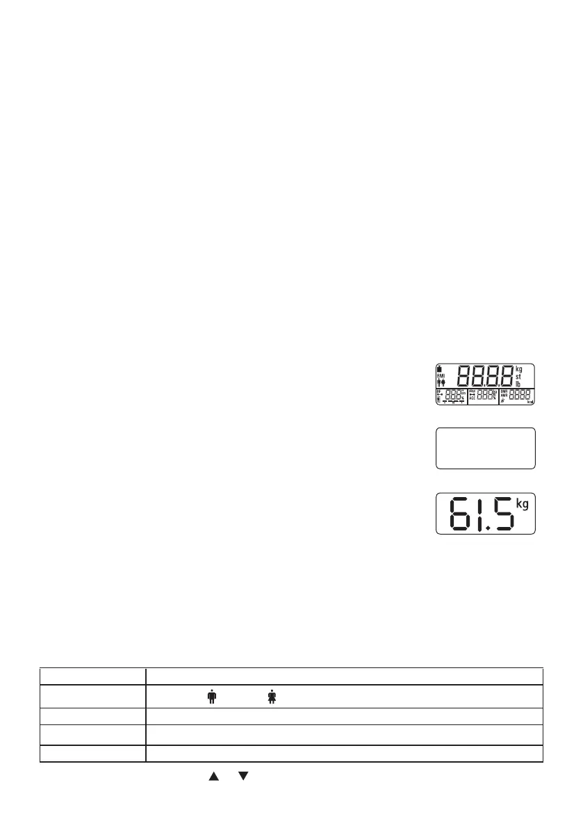
Całkowityodczyt(Rys.1)pojawisięjako!„
0.0
”(Rys.2)oznaczającytestsamokon-
trolnywagi(technologiadotykowa).
Obecniewagajestgotowadoprzeprowadzeniapomiarumasyciała.Należystanąć
nawadzebezporuszaniasięirozłożyćrównomasęciałanaobienogi.Wagana-
tychmiast rozpocznie pomiar masy ciała.
Waga wyłącza się po 10 sekundach od zejścia z niej. W tym czasie widoczny po-
zostaje wynik pomiaru.
Należypamiętaćotym,abyprzedwejściemnawagęzawszenajpierwjąwłączyći
zaczekaćdopojawieniasięnawyświetlaczunapisu
0.0
”(Rys.2).
2.3Ustawianiedanychużytkownika
Abymożliwybyłpomiarudziałutkankitłuszczowejiinnychwartości,należywpamięciwagizapisaćosobistedane
użytkownika.
Wagadysponuje10miejscamipamięci,naktórychmożnazapisaćosobisteustawieniaużytkownikówiponownieje
wywoływać.Należyzwrócićuwagę,żepamięćzaczynasięod1.
Włączwagę(wejdźnachwilęnapowierzchnięważenia).Dotykająckrótkostopąjejpowierzchniiodczekaćdo
pojawienia się komunikatu „0.0”.
Wcisnąć„SET”.Nawyświetlaczuzaczniemigaćpierwszemiejscepamięci.Terazmożnawprowadzićnastępujące
ustawienia:
Miejsce pamięci 1 do 10
Płeć
mężczyzna( ),kobieta( )
Wzrost 100do225cm(3'03"do7'05")
Wiek 10 do 100 lat
Stopień aktywności 1 do 5
–Zmianawartości:nacisnąćprzycisk lub .
Rys. 1
0.0
kg
Rys. 2
Rys. 3

Table of Contents

Related product manuals