EasyManua.ls Logo

BIG ASS FANS Basic 6 - Attach Lower Yoke; Attach Main Fan Unit

BIG ASS FANS Basic 6
64 pages
Print Icon
To Next Page IconTo Next Page
To Next Page IconTo Next Page
To Previous Page IconTo Previous Page
To Previous Page IconTo Previous Page
Loading...
WWW.BIGASSSOLUTIONS.COM © 2016 DELTA T CORP. ALL RIGHTS RESERVED.
19
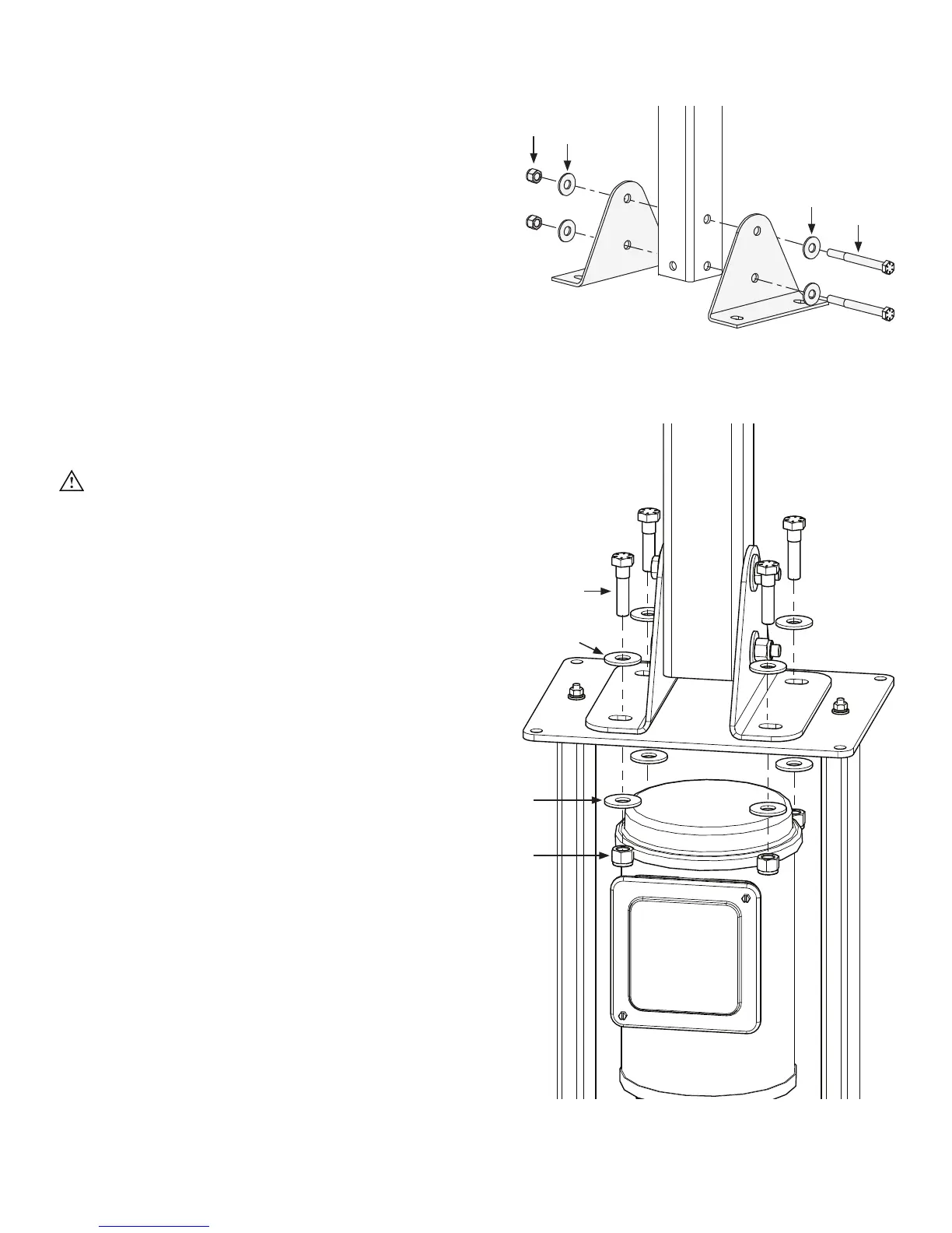
6. Attach Lower Yoke
Attach the lower yoke to the bottom of the extension
tube with the Lower Yoke Hardware as shown. Tighten
the hardware so that it is snug, but not fully tightened.
Lower Yoke Hardware:
a. (2) 1/2-13 x 4-1/2’’ GR 8 Bolt
b. (4) 1/2’’ Flat Washer
c. (2) 1/2-13 Nylock Nut
7. Attach Main Fan Unit
CAUTION: The main fan unit is heavy. Use caution
when raising it.
Attach the main fan unit to the lower yoke with the
Main Fan Unit Hardware. Do not rest the main fan unit
on the ground! Make sure the lower cable is positioned
between the lower yoke brackets as shown on the right.
Tighten the bolts to 40 ft·lb (54.2 N·m) using a torque
wrench and 3/4” socket. Do not discard the main fan unit
packaging. It should be used if the fan is ever moved or
relocated.
Main Fan Unit Hardware:
a. (4) 1/2-13 x 1-3/4” GR 8 Bolt
b. (8) 1/2’’ Flat Washer
c. (4) 1/2-13 Nylock Nut
a
b
c
b
a
b
c
b

Other manuals for BIG ASS FANS Basic 6

Related product manuals