EasyManua.ls Logo

Big Joe E30 - Page 78

Big Joe E30
124 pages
Print Icon
To Next Page IconTo Next Page
To Next Page IconTo Next Page
To Previous Page IconTo Previous Page
To Previous Page IconTo Previous Page
Loading...
12-8 BL-E30-0515 - 03-01-2018
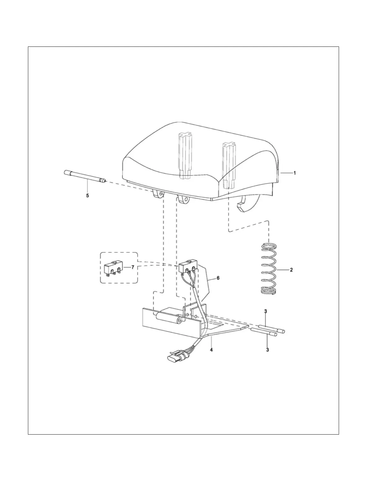
Figure 12-4 Emergency Reverse Switch Assembly
R6754A

Table of Contents

Related product manuals