EasyManua.ls Logo

Biolight Meditech E30 - Chapter 5.Read The Printed ECG Report

Default Icon
85 pages
Print Icon
To Next Page IconTo Next Page
To Next Page IconTo Next Page
To Previous Page IconTo Previous Page
To Previous Page IconTo Previous Page
Loading...
E30 Digital Electrocardiograph User’s Manual
5-1
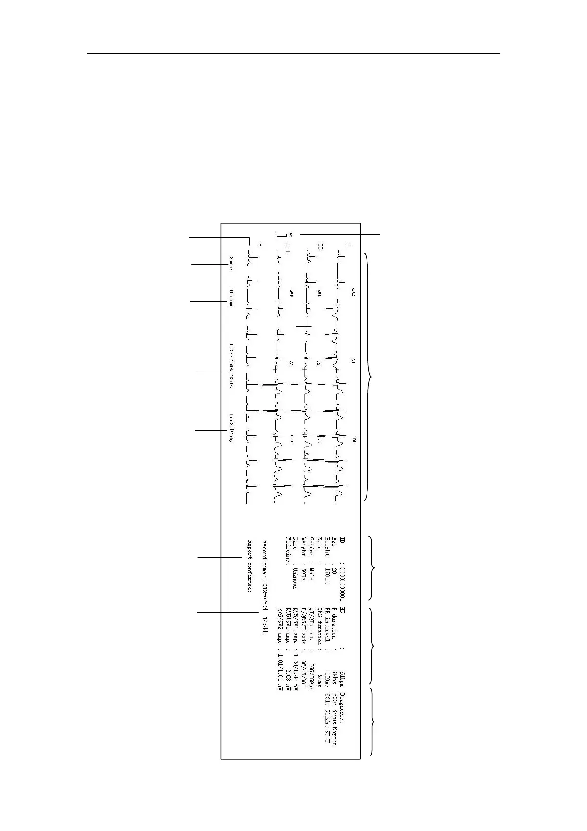
Chapter 5.Read the Printed ECG Report
This chapter describes the printed report of the Electrocardiograph in each
mode.
The chart below is the ECG report of Auto 3×4+1 in Auto mode:
1 mV calibration signal
DFT filter (Off)
Lowpass frequency
Waveform info
Patient info
Measure info
Diagnose info
Record speed
Wave gain
Work mode and
report format
Doctor info
Time record
Rhythm lead

Table of Contents