EasyManua.ls Logo

Boss BR-1600CD - When [STEREO TRACKS] Is Selected

Boss BR-1600CD
312 pages
Print Icon
To Next Page IconTo Next Page
To Next Page IconTo Next Page
To Previous Page IconTo Previous Page
To Previous Page IconTo Previous Page
Loading...
284
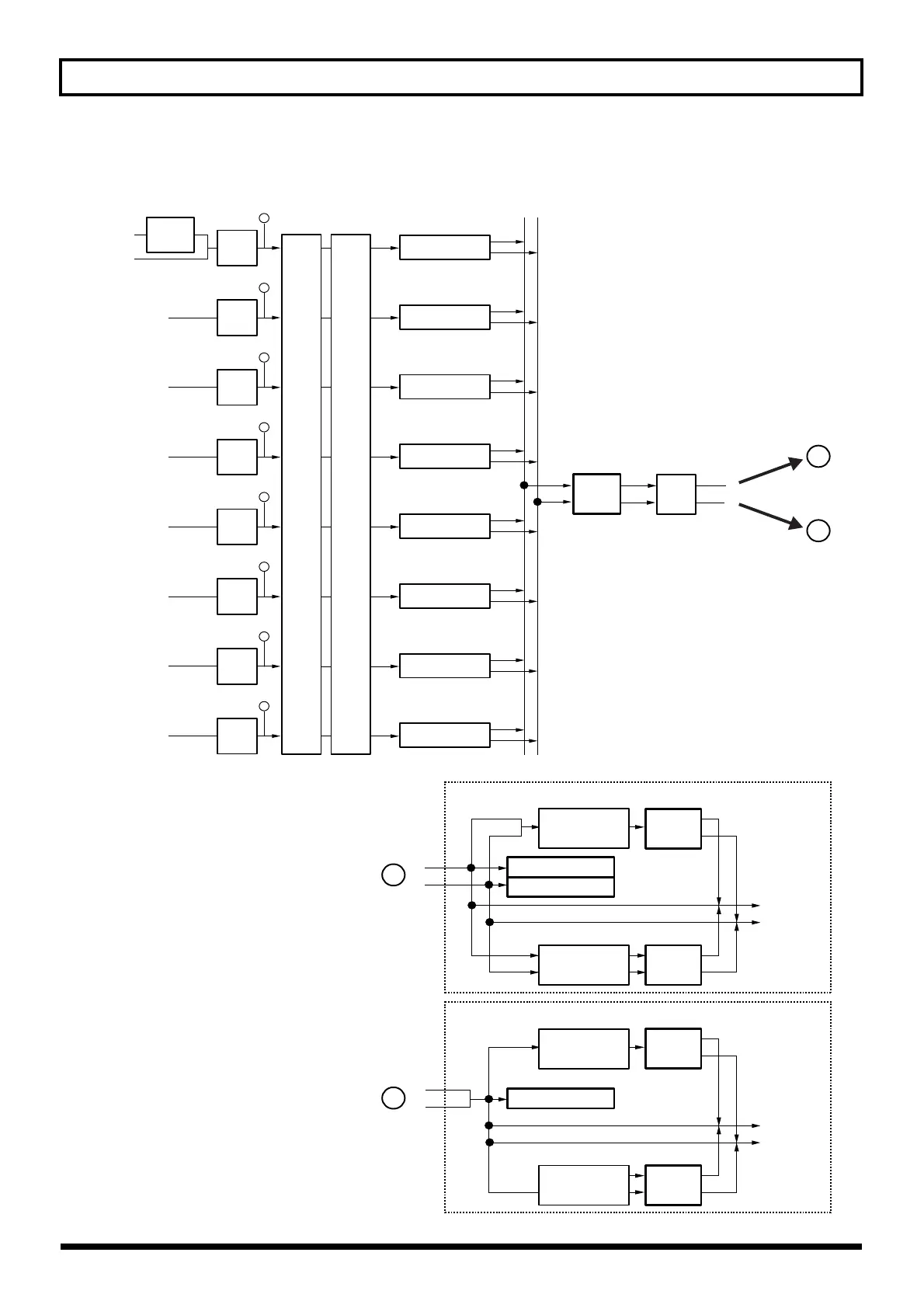
Operation of the INPUT SELECT buttons
When [STEREO TRACKS] is selected
fig.92-06
GUITAR /
BASS
INPUT 1 /
MIC 1
INPUT
SENS 1
Impedance
Conversion
Input 1 Pan
PEAK
VOCAL /
INPUT 2 / MIC 2
INPUT
SENS 2
Input 2 Pan
PEAK
INPUT 3 / MIC 3
INPUT
SENS 3
Input 3 Pan
PEAK
INPUT 4 / MIC 4
INPUT
SENS 4
Input 4 Pan
PEAK
INPUT 5 / MIC 5
INPUT
SENS 5
Input 5 Pan
PEAK
INPUT 6 / MIC 6
INPUT
SENS 6
Input 6 Pan
PEAK
INPUT 7 / MIC 7
INPUT
SENS 7
Input 7 Pan
PEAK
INPUT 8 / MIC 8
INPUT
SENS 8
Input 8 Pan
PEAK
Level
Calibration
Insert
Effects
INPUT
LEVEL
Insert
Effects
L
R
* When insert effects are connected to INPUT 1-8
* When insert effects are connected
to INPUT 1-8
LINE OUT
&
PHONES
L
R
Reverb
Chorus
Recording track (even)
Recording track (odd)
Input
Reverb Send
L
R
Input 1
Chorus/
Delay/
Doubling Send
When the recording track is stereo
When the recording track is mono
LINE OUT
&
PHONES
L
R
Reverb
Chorus
Recording track (mono)
Input
Reverb Send
L
R
Input 1
Chorus/
Delay/
Doubling Send
1
2
1
2
If an instrument is connected to the
GUITAR/BASS jack, the INPUT 1/MIC 1
jack will be deactivated.

Table of Contents

Other manuals for Boss BR-1600CD

Related product manuals