EasyManua.ls Logo

Boss BR-1600CD - Internal Connection Diagrams for each Recording Mode; When INPUT or BOUNCE Is Selected

Boss BR-1600CD
312 pages
Print Icon
To Next Page IconTo Next Page
To Next Page IconTo Next Page
To Previous Page IconTo Previous Page
To Previous Page IconTo Previous Page
Loading...
286
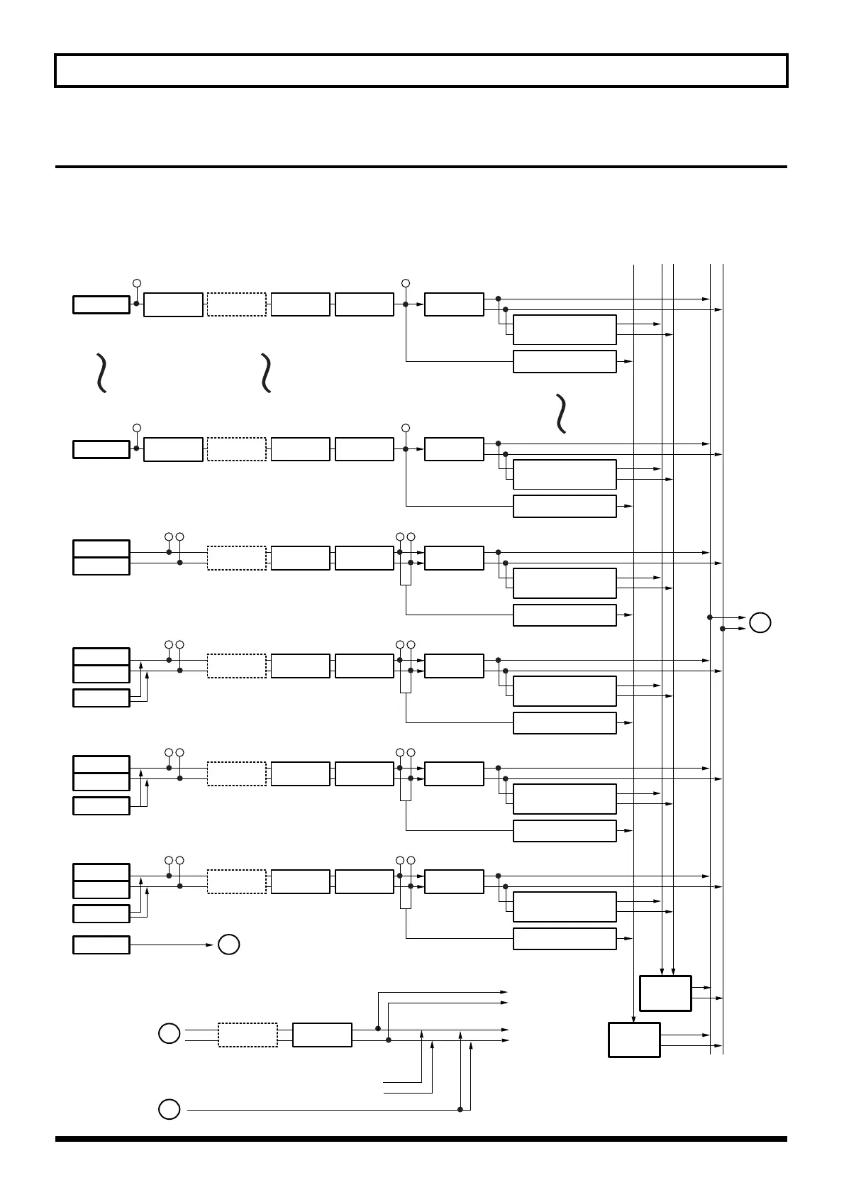
REC MODE (Recording Mode) Operations
Internal connection diagrams for each recording mode
The internal connections for audio tracks change as described below in response to the current REC MODE condition.
When INPUT or BOUNCE is selected
fig.93-01
Chorus/
Delay/
Doubling
LINE OUT
&
PHONES
Reverb
LR
L
R
L
R
L
R
Track9/10
Pan
Track9/10
Fader
Track9/10
Equalizer
Insert
Effects
L
R
Track9/10
Chorus/Delay/Doubling
Send
Track9/10
Reverb Send
L
R
Track 9
Track 10
Level Meter
(Pre Fader)
Level Meter
(Post Fader)
When insert effects are connected
to Track 9/10
Track
11/12 Pan
Track11/12
Fader
Track11/12
Equalizer
Insert
Effects
L
R
Track11/12
Chorus/Delay/Doubling
Send
Track11/12
Reverb Send
L
R
Track 11
Track 12
Loop Phrase
Level Meter
(Pre Fader)
Level Meter
(Post Fader)
When insert effects are connected
to Track 11/12
Track
13/14 Pan
Track13/14
Fader
Track13/14
Equalizer
Insert
Effects
L
R
Track13/14
Chorus/Delay/Doubling
Send
Track13/14
Reverb Send
L
R
Track 13
Track 14
Level Meter
(Pre Fader)
Level Meter
(Post Fader)
When insert effects are connected to
Track 13/14
Track
15/16 Pan
Track15/16
Fader
Track15/16
Equalizer
Insert
Effects
L
R
Track15/16
Chorus/Delay/Doubling
Send
Track15/16
Reverb Send
L
R
Track 15
Track 16
Level Meter
(Pre Fader)
Level Meter
(Post Fader)
When insert effects are connected to
Track 15/16
Track1
Pan
L
R
Track1
Chorus/Delay/Doubling
Send
Track1
Reverb Send
L
R
Track 1
Level Meter
(Pre Fader)
Level Meter
(Post Fader)
When insert effects are connected
to Track 1
Track1
Fader
Track1
Equalizer
Insert
Effects
Track1
Compressor
Track8
Pan
L
R
Track8
Chorus/Delay/Doubling
Send
Track8
Reverb Send
L
R
Track 8
Level Meter
(Pre Fader)
Level Meter
(Post Fader)
When insert effects are connected
to Track 8
Track8
Fader
Track8
Equalizer
Insert
Effects
Track8
Compressor
Drums
Metronome
Bass
Selection using the track type for Track 11/12
Selection using the track type for Track 13/14
Selection using the track type for Track 15/16
1
1
2
Master
Fader
Insert
Effects
When insert effects are connected
to Master
AUDIO SUB MIX
L
R
L
R
To the recording
track for bouncing
2

Table of Contents

Other manuals for Boss BR-1600CD

Related product manuals