EasyManua.ls Logo

Canon PR-C151 - Connecting the Printer to Computer

Canon PR-C151
64 pages
Print Icon
To Next Page IconTo Next Page
To Next Page IconTo Next Page
To Previous Page IconTo Previous Page
To Previous Page IconTo Previous Page
Loading...
- 19 -
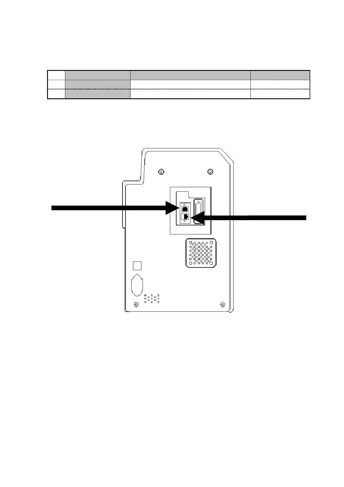
3 - d) Connecting the Printer to Computer
USB or LAN interface and RS-232C interface (for IC R/W)
No
Description Interface Cable
To Control a Printer
USB 2.0 Not bundled
To Control a Printer
Ethernet 100BASE-TX (Operation guaranteed)
Not bundled
USB
Ethernet
USB
Ethernet

Table of Contents

Related product manuals