EasyManua.ls Logo

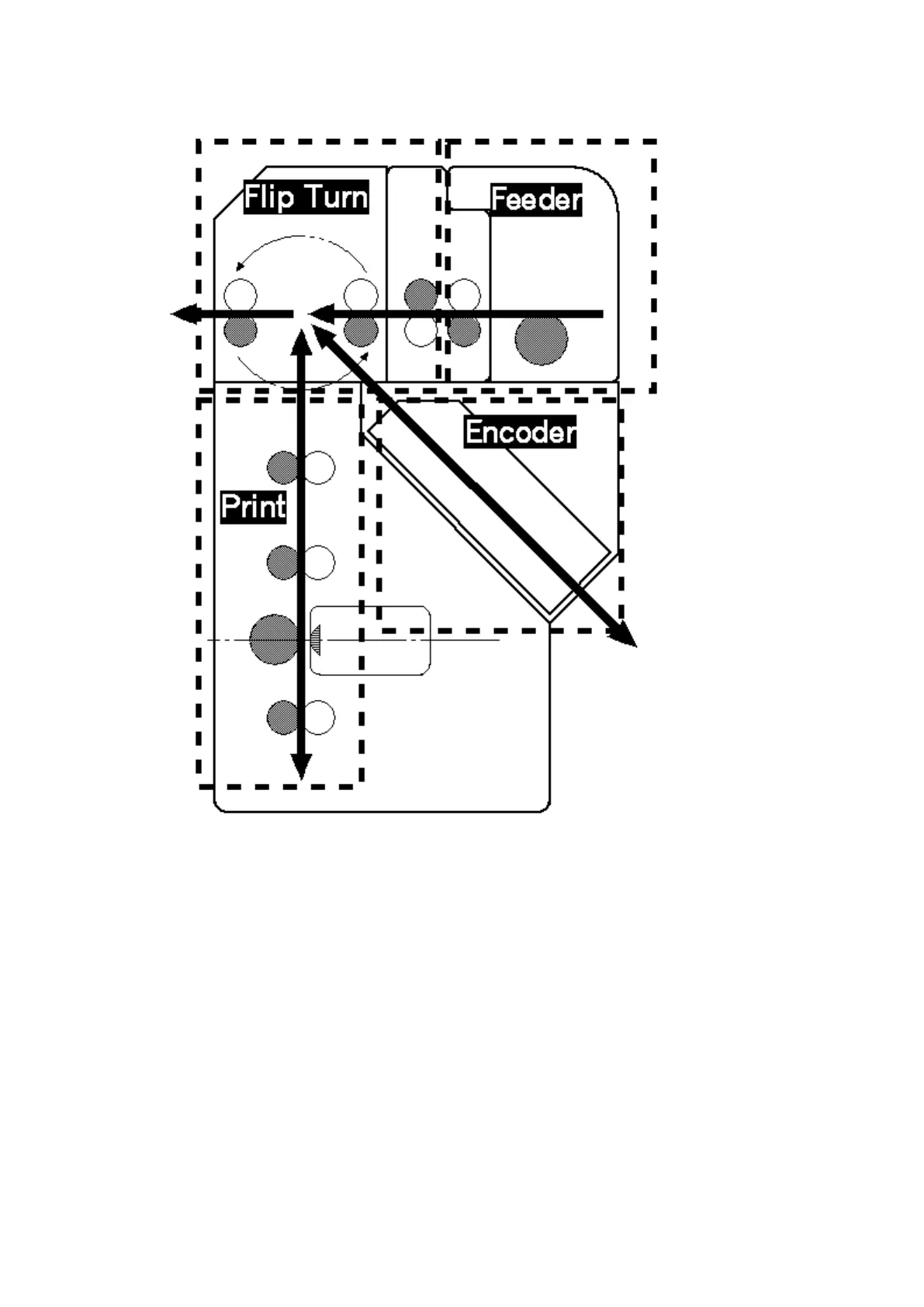
Canon PR-C151 - Block Layout

Canon PR-C151
64 pages
Print Icon
To Next Page IconTo Next Page
To Next Page IconTo Next Page
To Previous Page IconTo Previous Page
To Previous Page IconTo Previous Page
Loading...
- 54 -
Block Layout

Table of Contents

Related product manuals