EasyManua.ls Logo

Chamberlain JDC - Attach the Door Arm and Bracket

Chamberlain JDC
70 pages
Print Icon
To Next Page IconTo Next Page
To Next Page IconTo Next Page
To Previous Page IconTo Previous Page
To Previous Page IconTo Previous Page
Loading...
15
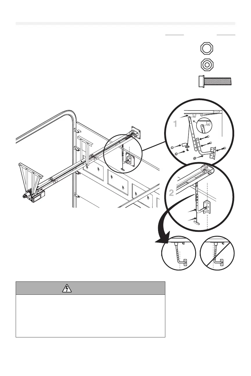
TDC Trolley Installation (continued)
Attach the Door Arm and Bracket
1. Latch the door arm to the trolley. Make sure the open side of the
notch on the door arm faces the door.
2. Position the door bracket to the center line of the door and attach
the door bracket to the door using appropriate hardware (not
included).
NOTE: When properly installed and adjusted the door arm
should be leaning back toward the operator slightly. Refer to
door manufacturer’s instructions for recommended installation
guidelines.
 WARNING
To prevent possible SERIOUS INJURY from a moving chain:
DISCONNECT electric power to the operator BEFORE manually operating
your door.
If possible, use emergency disconnect ONLY when door is CLOSED. Weak
or broken springs or unbalanced door could result in an open door falling
rapidly and/or unexpectedly.
NEVER use emergency disconnect unless doorway is clear of persons and
obstructions.
A
B
HARDWARE
Flanged Hex
Nut 3/8"-16 (2)
Nylok Nut 3/8"-
16 (1)
Bolt 3/8"-16 x
1" (3)
C
A
C
B

Table of Contents

Related product manuals