EasyManua.ls Logo

Commodore PET - Program 3, SINGLE

Commodore PET
447 pages
Print Icon
To Next Page IconTo Next Page
To Next Page IconTo Next Page
To Previous Page IconTo Previous Page
To Previous Page IconTo Previous Page
Loading...
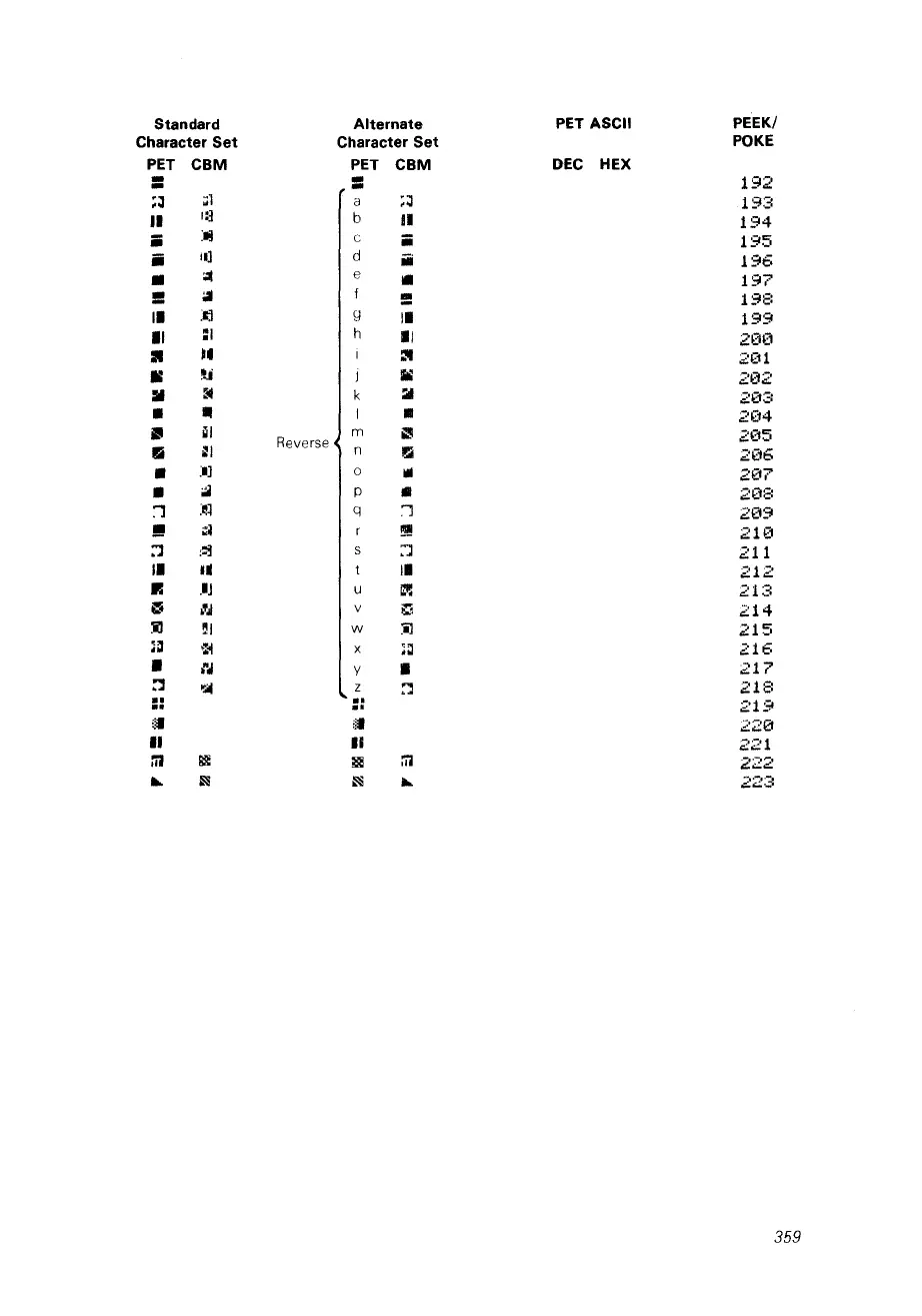
Standard
Alternate
PET
ASCII
PEEK/
Character
Set
Character
Set
POKE
PET
CBM
PET
CBM
DEC
HEX
-
-
192
-
-
~;,
:;1
a
;J
193
Il
I:~
b
Il
194
li
:II!I
c
iii
195
ii
Il]
d
iii
196
::II
e
197
!!!
..
f
!!
19:::
'1
:1;1
9
Il
199
l'
:1
h
Il
200
JI
••
~
201
Il
Il.i
J
IW
202
:fil
~
k
~
203
1
21:'::14
Il
wl
m
~
205
Reverse
li
~I
n
li
2(16
:1]
a
l1li
207
iîiI
p
20::;:
:"1
:~4
q
:1
21:'::19
!!
;a
"!
210
:J
:::8
:::J
211
Il
1.
Il
212
Ils
.1]
u
~
213
CO
.'J
v
~
214
:il
~I
w
:il
215
:i1
~:1
x
:i1
216
,Nol
Y
1
217
~
'.iII
~
21:::
..
..
215'
..
..
('1
;'t
220
Il
Il
221
:il
el!:
~
:il
;222
...
~
~
...
223
359

Table of Contents

Related product manuals