EasyManua.ls Logo

CompAir Classic 05 - Page 81

CompAir Classic 05
95 pages
Print Icon
To Next Page IconTo Next Page
To Next Page IconTo Next Page
To Previous Page IconTo Previous Page
To Previous Page IconTo Previous Page
Loading...
Page 81
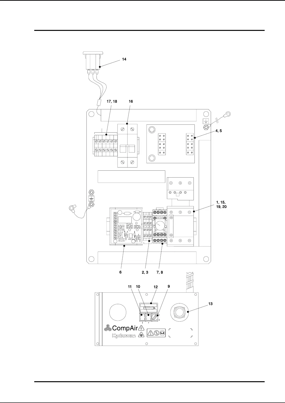
230V 50/60Hz D.O.L. Standard Control Starter 3G
Figure 3G - 230V, 50/60Hz D.O.L. Standard Control Starter

Table of Contents

Related product manuals