EasyManua.ls Logo

Cornelius PRISM - Schematics; Plumbing Diagram

Cornelius PRISM
32 pages
Print Icon
To Next Page IconTo Next Page
To Next Page IconTo Next Page
To Previous Page IconTo Previous Page
To Previous Page IconTo Previous Page
Loading...
Prism Owner’s Manual
Publication Number: 548000096 - 22 - © 2018, Cornelius Inc.
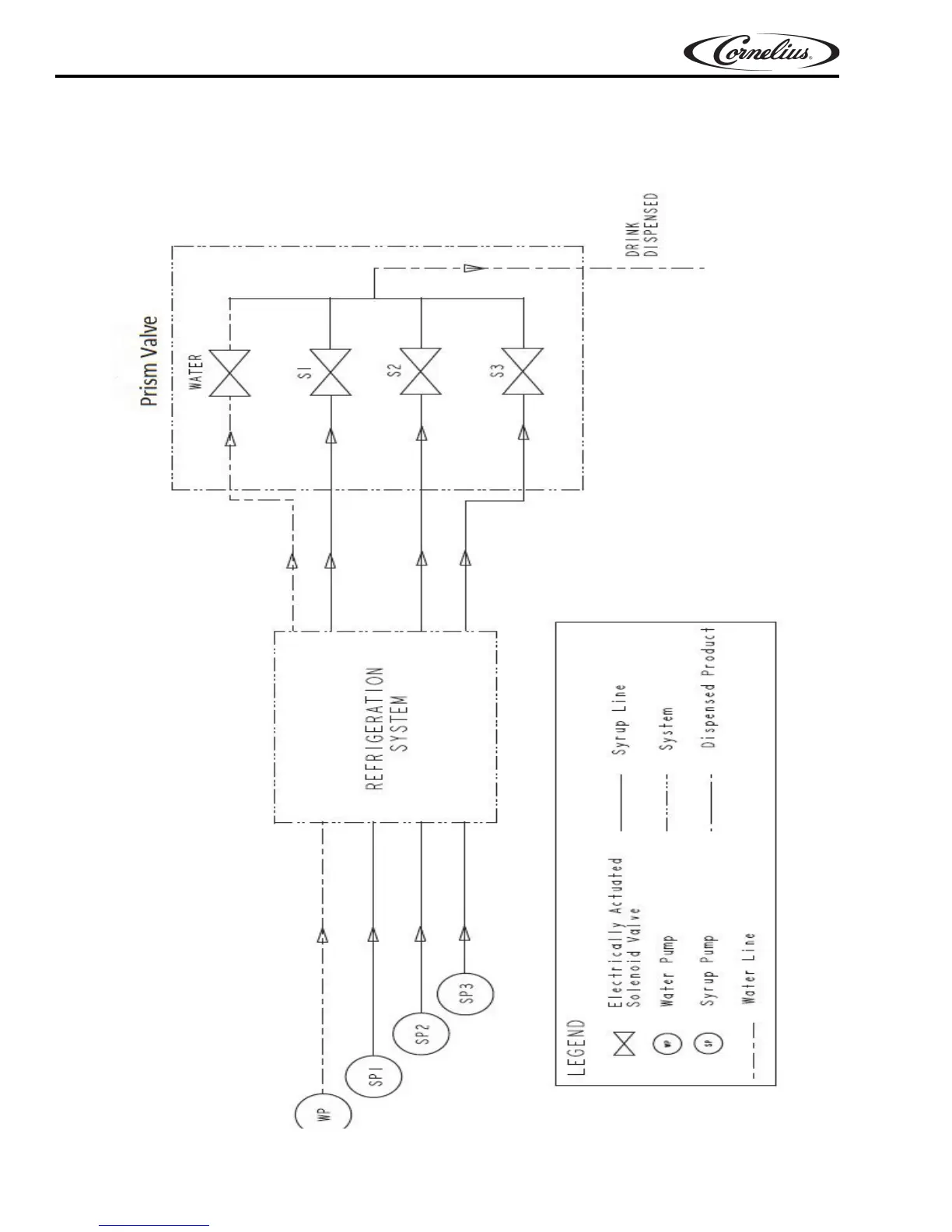
SCHEMATICS
PLUMBING DIAGRAM
Figure 40.

Related product manuals