EasyManua.ls Logo

Daher TBM 900 - Weight and C.G. Limits; Weight Limits

Default Icon
996 pages
Print Icon
To Next Page IconTo Next Page
To Next Page IconTo Next Page
To Previous Page IconTo Previous Page
To Previous Page IconTo Previous Page
Loading...
Pilot's Operating Handbook
Section 2
Limitations
EASA Approved
Edition 0 - October 31, 2013
Rev. 4
Page 2.5.1
2.5 - Weight and C.G. limits
Wei
ght limits
Maximum ramp weight (MRW) : 7430 lbs (3370 kg)
Maximum takeoff weight (MTOW) : 7394 lbs (3354 kg)
Maximum landing weight (MLW) : 7024 lbs (3186 kg)
Maximum zero fuel weight (MZFW) : 6032 lbs (2736 kg)
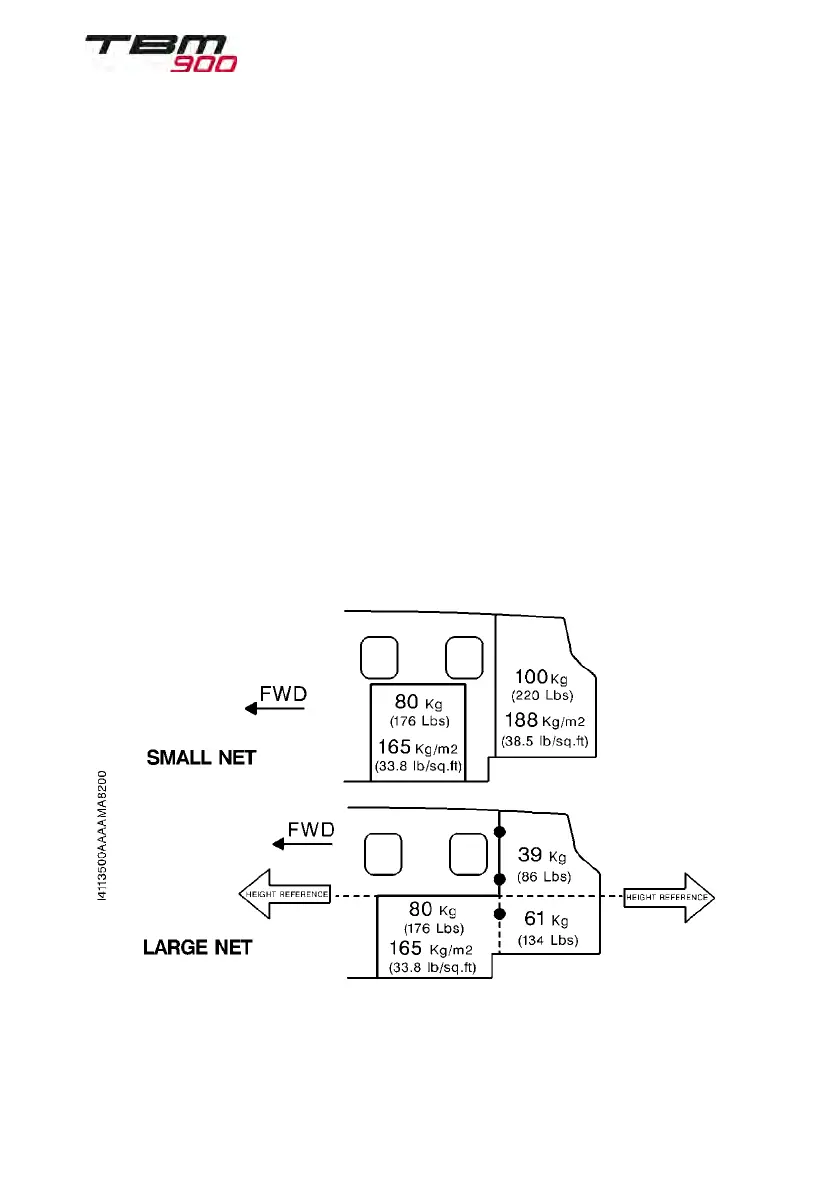
Maximum baggage weight :
- in FWD compartment (non pressurized) : 110 lbs (50 kg)
>> With 6-seat accommodation
- in rear part of pressurized cabin : 220 lbs (100 kg)
>> With 4-seat accommodation
- in rear part of pressurized cabin : 396 lbs (180 kg), with small or large net, see
sketch below
Figure 2.5.1 - Baggage limits
PIM - DO NOT USE FOR FLIGHT OPERATIONS

Table of Contents

Related product manuals