EasyManua.ls Logo

Directed Electronics PYTHON 1090 - Page 23

Directed Electronics PYTHON 1090
70 pages
Print Icon
To Next Page IconTo Next Page
To Next Page IconTo Next Page
To Previous Page IconTo Previous Page
To Previous Page IconTo Previous Page
Loading...
© 2006 Directed Electronics—all rights reserved
23
H1/7 BLUE (-) multiplex input, zone 4
Inputs shorter than 0.8 seconds will trigger the Warn Away response, while inputs longer than 0.8 seconds
will trigger the full alarm sequence. If installing an optional Directed Electronics dual stage sensor, connect
both the blue and the green wires of the optional sensor to this input. This wire will report Zone 4.
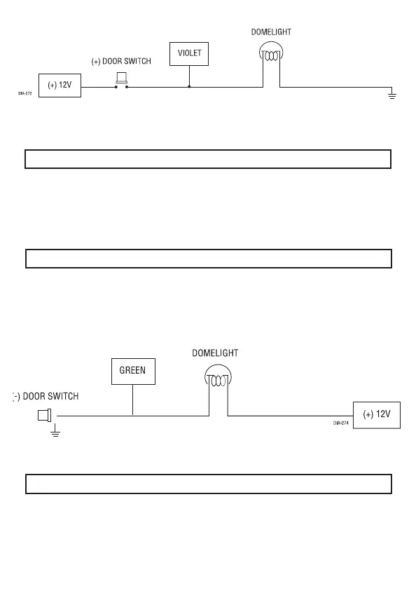
H1/8 GREEN (-) door trigger input, zone 3
Most vehicles use negative door trigger circuits. Connect the green wire to a wire which shows ground when
any door is opened. In vehicles with factory delays on the domelight circuit, there is usually a wire that is
unaffected by the delay circuitry. This wire will report Zone 3.
H1/9 BLACK/WHITE (-) 200 mA domelight supervision output
Connect this wire to the optional domelight supervision relay as shown below:
IMPORTANT! This output is only intended to drive a relay. It cannot be connected directly to the domelight
circuit, as the output cannot support the current draw of one or more light bulbs.

Table of Contents

Related product manuals