EasyManua.ls Logo

Doosan G424FE - Symptom Troubleshooting Guide Chart for MPI Gasoline System

Doosan G424FE
306 pages
Print Icon
To Next Page IconTo Next Page
To Next Page IconTo Next Page
To Previous Page IconTo Previous Page
To Previous Page IconTo Previous Page
Loading...
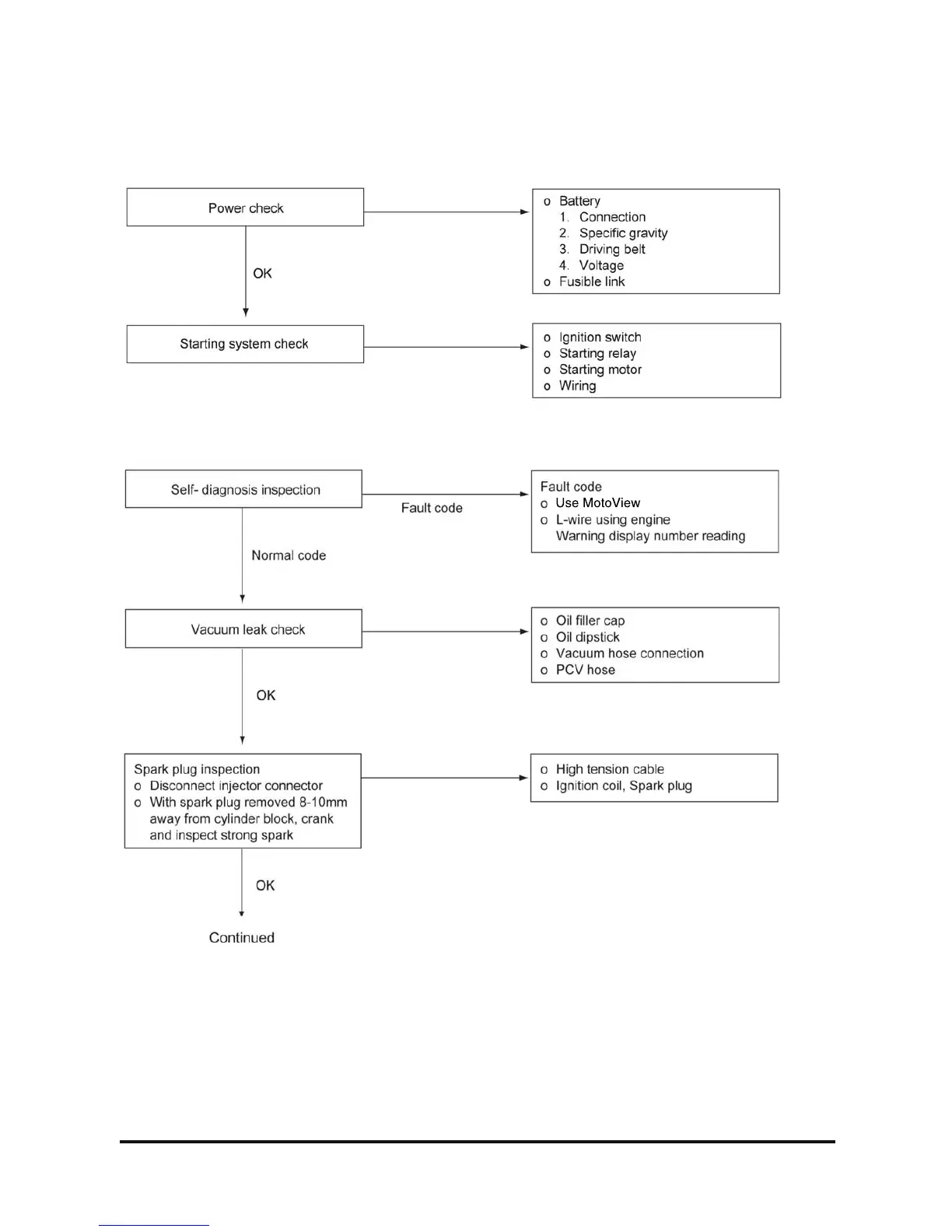
G424F(FE) Service Manual 227 Chapter 8. Basic Troubleshooting
Symptom Troubleshooting Guide Chart for MPI Gasoline System
Engine Is Not Starting
Engine Is Difficult To Start (Cranking OK)

Table of Contents

Related product manuals