EasyManua.ls Logo

E-Mu MP-7 command station - Preset Name; Four Layer Architecture

E-Mu MP-7 command station
388 pages
Print Icon
To Next Page IconTo Next Page
To Next Page IconTo Next Page
To Previous Page IconTo Previous Page
To Previous Page IconTo Previous Page
Loading...
200 E-MU Systems
Preset Edit Menu
Four Layer Architecture
Preset Name The Preset names consists of two parts: a 3 letter preset category and a 12
letter preset name. Position the cursor under the character location and use
the data entry control to change the character.
The preset category is used in conjunction with the Sound Navigator
feature. Using the Sound Navigator, a category is selected and the presets in
that category are listed in alphabetical order. Creating categories makes it
easier to find specific sounds when you need them. For more information
on Sound Navigator, see Sound Navigator in Chapter 2: Operations.
You can also select
characters using the keypads or
MIDI keyboard.
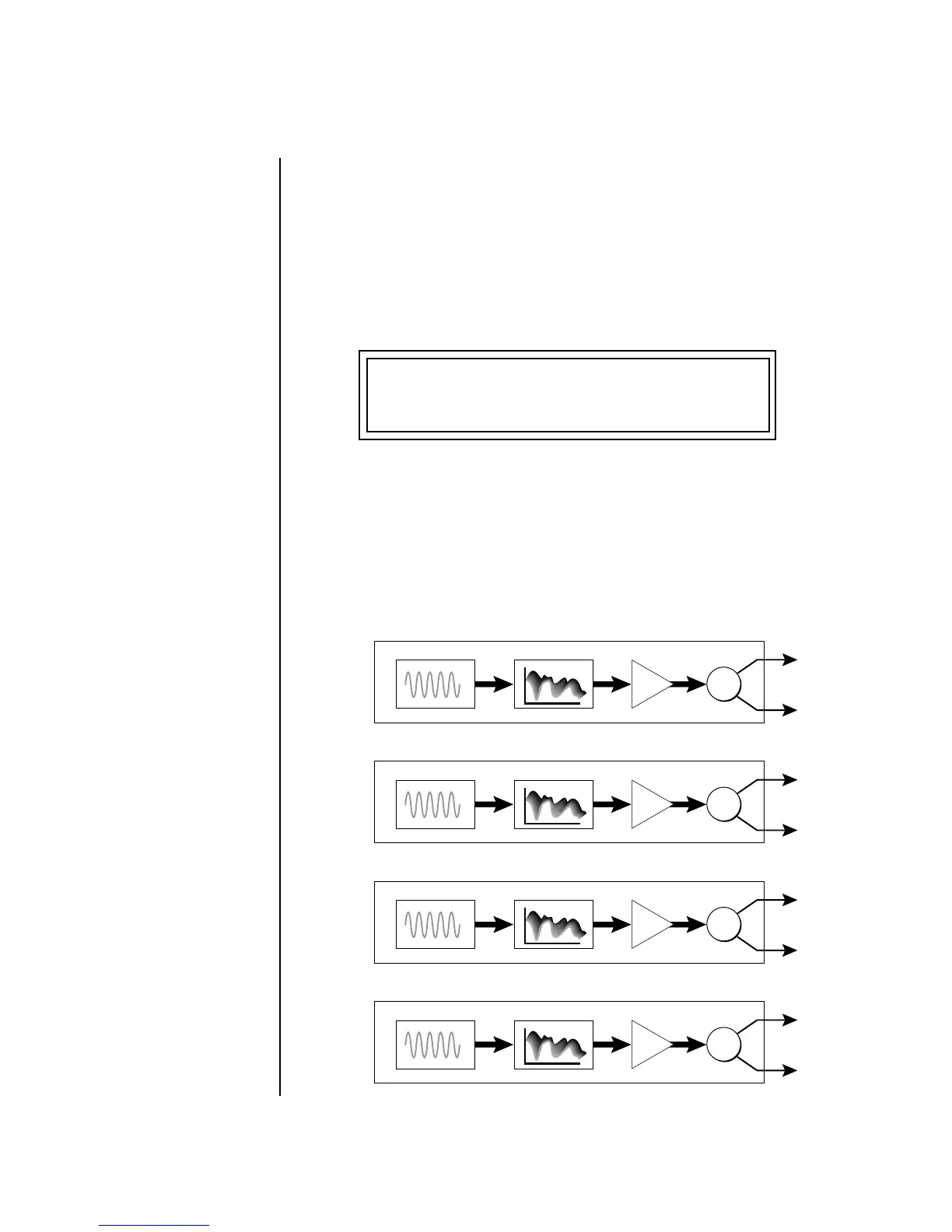
Four Layer
Architecture
MP-7 provides a 4 layer instrument structure. Each layer is a complete
synthesizer voice with 50 filter types, over 64 modulation sources, more
than 64 modulation destinations and 24 patchcords to connect everything
together. In addition, the four layers can be crossfaded or switched by key
position, velocity or any real-time modulation source.
PRESET NAME
000
1
syn: VOSIM-Voc
Instrument
Layer 1
Z-Plane Filter
DCA
R
L
Pan
Instrument
Layer 2
Z-Plane Filter
DCA
R
L
Pan
Instrument
Layer 3
Z-Plane Filter
DCA
R
L
Pan
Instrument
Layer 4
Z-Plane Filter
DCA
R
L
Pan

Table of Contents