EasyManua.ls Logo

E-Mu MP-7 command station - Defining Key Range

E-Mu MP-7 command station
388 pages
Print Icon
To Next Page IconTo Next Page
To Next Page IconTo Next Page
To Previous Page IconTo Previous Page
To Previous Page IconTo Previous Page
Loading...
MP-7 Owners Manual 203
Preset Edit Menu
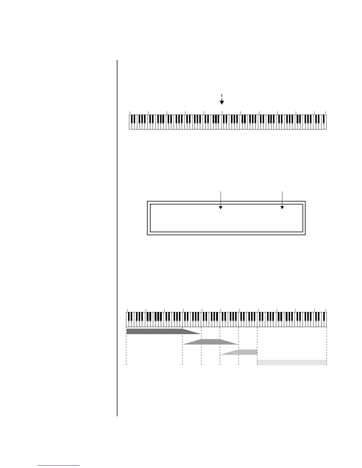
Defining Key Range
Defining Key Range The Key parameter defines the range on the keyboard used by the current
layer. The Key range is from C-2 through G8.
To define the range, set the low key value and the high key value.
You can select key numbers by simply pressing the desired keyboard key
when the cursor is positioned on the low or high key field in the display.
Layers can be crossfaded according to key position by adjusting the Low
and High Fade parameters. The first Fade field determines how many
semitones it takes the layer to Fade In from the low key. The second Fade
field determines how many semitones it takes the layer to Fade Out to the
high key. The screen shot above and the diagram below show Layer 1 being
faded out over a one octave range.
With a High Fade value of zero (as in layer 3 of the diagram), the layer
simply switches off at the high key.
C-2 C-1 C0 C1 C2 C3 C4 C5 C6 C7 C8 G8
Middle C
L1
KEY: LO FADE HIGH FADE
C-2 000 C2 012
Fade In Fade Out
C-2 C-1 C0 C1 C2 C3 C4 C5 C6 C7 C8 G8
Layer 1
Layer 2
Layer 3
Layer 4
Switch

Table of Contents