EasyManua.ls Logo

E-Mu MP-7 command station - Erase Track

E-Mu MP-7 command station
388 pages
Print Icon
To Next Page IconTo Next Page
To Next Page IconTo Next Page
To Previous Page IconTo Previous Page
To Previous Page IconTo Previous Page
Loading...
MP-7 Owners Manual 87
Sequencer
Pattern Edit Menu
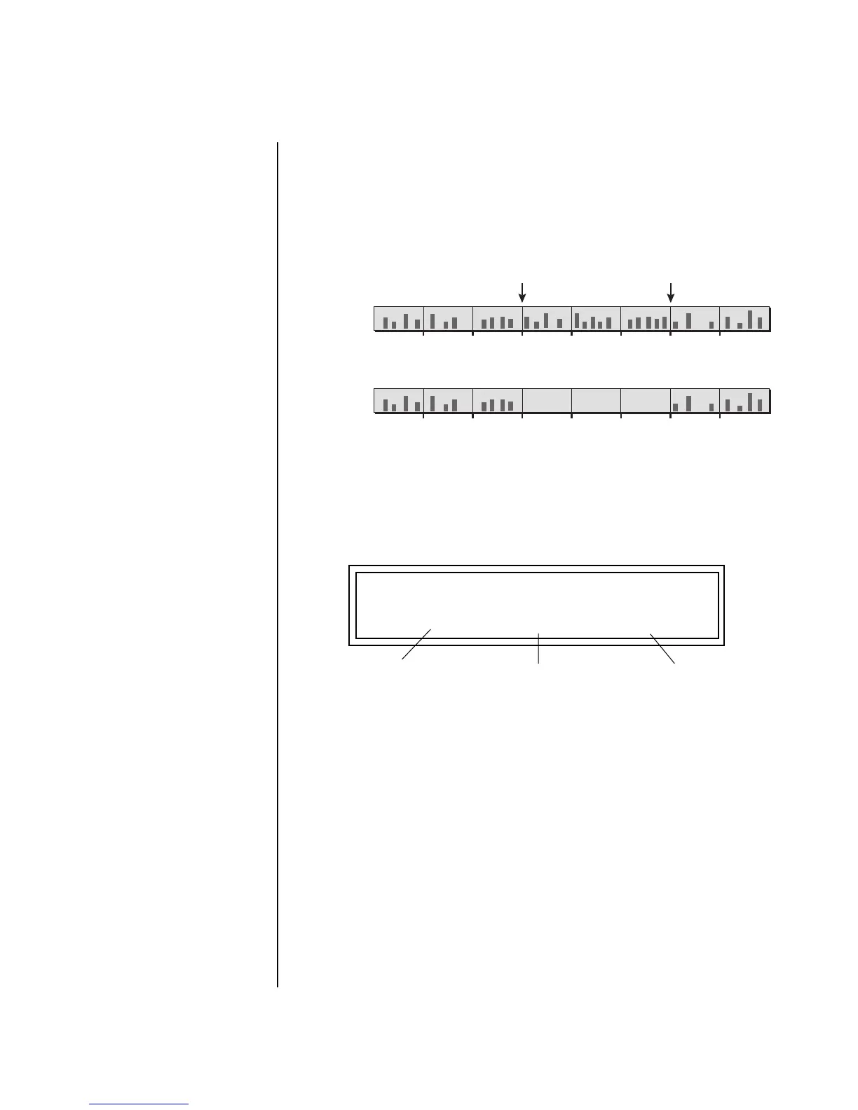
Erase Track An entire track or a section of a track can be erased in a single operation.
This feature makes it easy to erase a flubbed take or erase a section of track
before pasting new data.
To Erase a Track
1. Press the Pattern Edit or Song Edit button.
2. Scroll to the Erase Track screen shown below using the data entry
control.
3. Select the track you want to erase. The Home/Enter LED will be
flashing once the cursor is moved to the lower line of the display.
4. Select the first Bar you want to erase. The bar range for patterns is 01-
32; the bar range for songs is 001-999.
5. Select the Length of the track you want erased.
6. Press Enter to erase the selected section of the Track.
7. Press any other menu button or exit the edit menu to Cancel the
operation.
Bar - 1 2345678
Bar - 1 2345678
Erase Pattern or Song Track
After
Before
Start
Bar
Length = 3Bars
ERASE TRACK
Track: 1 Bar:01 Len:32
Tr ack to be
Erased
Start
Location
Length in
bars

Table of Contents