EasyManua.ls Logo

ECRM Mako 4 CTP - Page 47

ECRM Mako 4 CTP
59 pages
Print Icon
To Next Page IconTo Next Page
To Next Page IconTo Next Page
To Previous Page IconTo Previous Page
To Previous Page IconTo Previous Page
Loading...
AG45134 Rev. 3 3 - 13
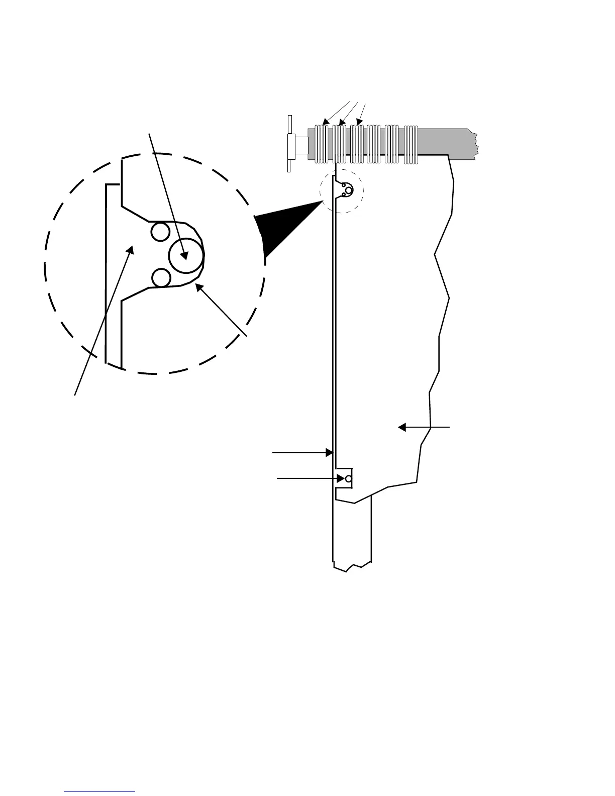
Figure 3-8 Loading Notch-registered Plates.
Step 6. Watch for the green Expose LED to come on and stay on. This
shows the plate is maintaining contact with the pins.
If the LED goes out, you have lost pin contact. Move the plate
slightly away from the registration pins and then back against
PLATE
PIN BAR
REGISTRATION PIN
PINCH ROLLERS
REGISTRATION PIN
NOTCH
PIN BAR