EasyManua.ls Logo

EG4 6500 - Page 53

EG4 6500
75 pages
Print Icon
To Next Page IconTo Next Page
To Next Page IconTo Next Page
To Previous Page IconTo Previous Page
To Previous Page IconTo Previous Page
Loading...
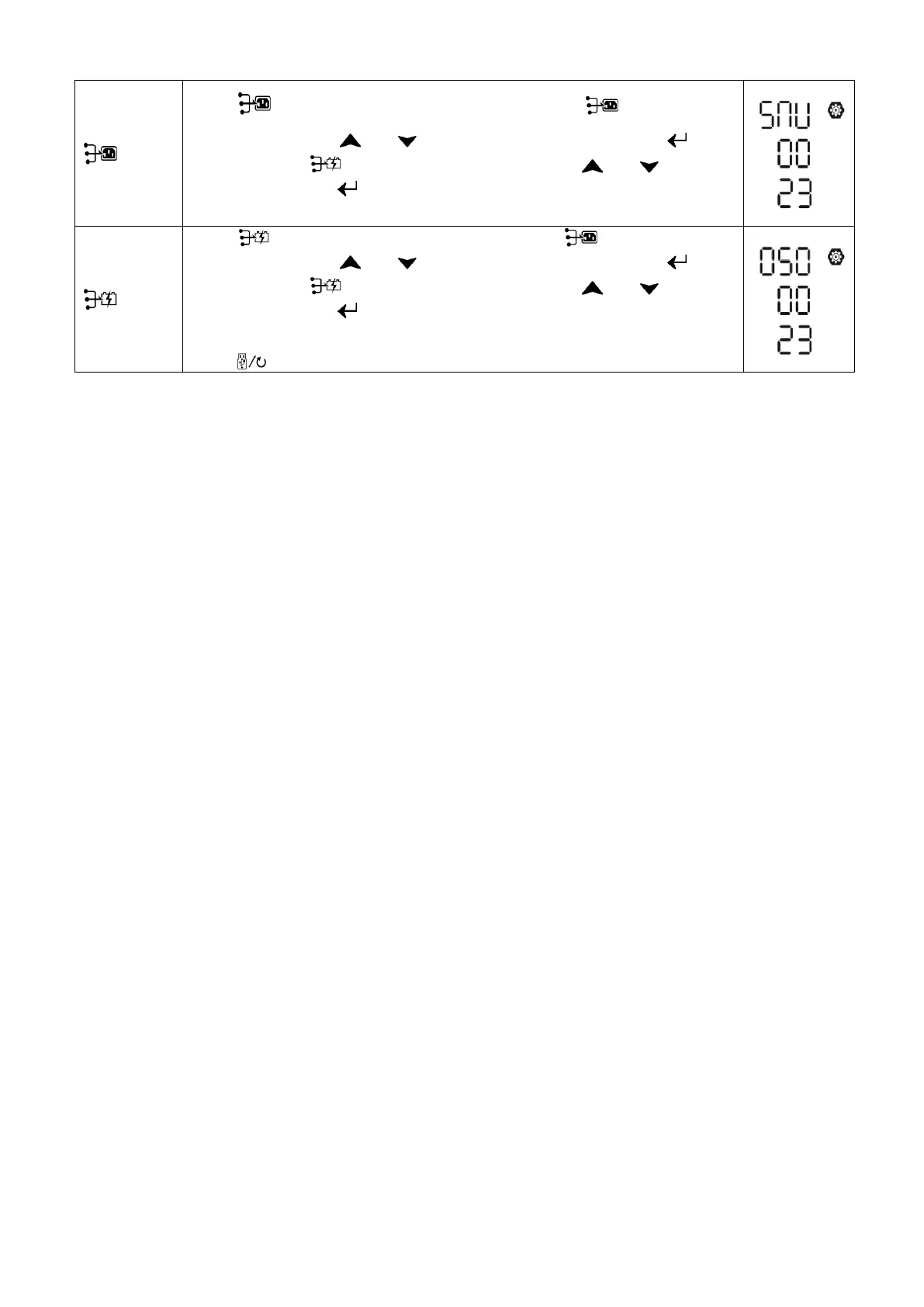
Press button to set up Solar & Utility Timer. Press ” button to select
staring time. Press “ ” or “ ” button to adjust values and press “ ” to
confirm. Press “ ” button to select end time. Press “ ” or “ ” button to
adjust values, press “ ” button to confirm. The setting values are from 00 to
23, with 1-hour increment.
Press “ ” button to set up Solar Only Timer. Press “ ” button to select
staring time. Press “ ” or “ ” button to adjust values and press “ ” to
confirm. Press “ ” button to select end time. Press “ ” or “ ” button to
adjust values, press “ ” button to confirm. The setting values are from 00 to
23, with 1-hour increment.
Press “ ” button to exit the Setup Mode.
EG4 Electronics
www.eg4electronics.com
53

Related product manuals