EasyManua.ls Logo

EKOM DK50 PLUS/M - Pneumatischer Anschluss

EKOM DK50 PLUS/M
240 pages
Print Icon
To Next Page IconTo Next Page
To Next Page IconTo Next Page
To Previous Page IconTo Previous Page
To Previous Page IconTo Previous Page
Loading...
INSTALLATION
NP-DK50 2V-A-4_10-2022-AD 84 10/2022
D
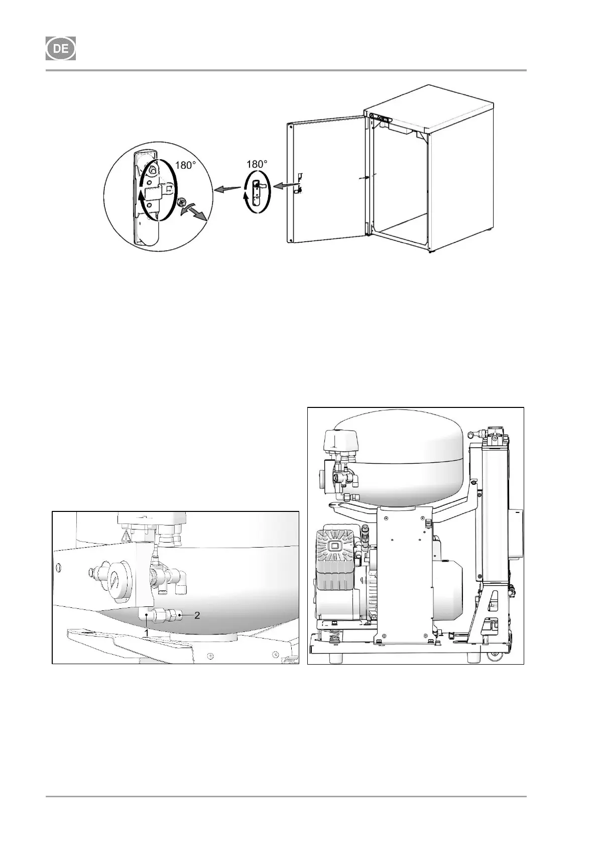
11. PNEUMATISCHER ANSCHLUSS
11.1. Anschluss an den Druckluftausgang
Schließen Sie den Druckschlauch (2) an den Druckluftausgang (1) des Kompressors an
(Abb. 6).
Sichern Sie den Druckschlauch in der Klemme (3) (Abb. 6).
Verlegen Sie bei Kompressoren im Schrank den Druckschlauch durch die Öffnung auf der
linken Seite in der Rückwand des Schranks (Abb. 8).

Table of Contents

Related product manuals