EasyManua.ls Logo

Elan D16 - IR LOOP INPUT;OUTPUT Connections; VIA!NET LOOP INPUT;OUTPUT Connections

Elan D16
65 pages
Print Icon
To Next Page IconTo Next Page
To Next Page IconTo Next Page
To Previous Page IconTo Previous Page
To Previous Page IconTo Previous Page
Loading...
ELAN HOME SYSTEMS D16 INSTALLATION MANUAL
© ELAN Home Systems 2010 | All rights reserved.
Page 42
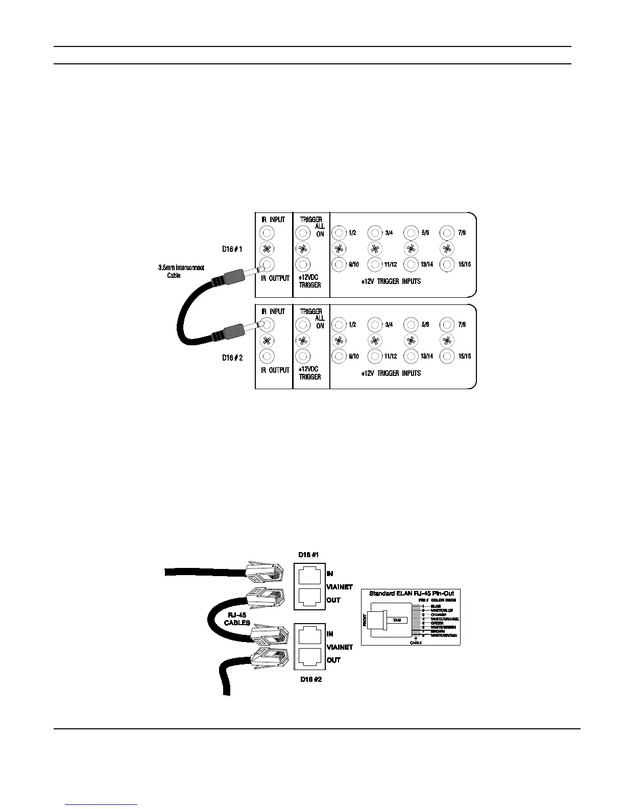
IR LOOP INPUT/OUTPUT Connections
The 3.5mm mono IR Loop is located beside the ALL ON trigger. This loop allows IR
commands to be sent to each D16 amplifier that is connected. Before the amplifier will
respond to IR Commands, the D16 amplifier must be set to ELAN Mode.
(See Operating Mode Menu on page 23.)
Figure 3-9 IR Loop Input / Output
VIA!NET LOOP INPUT/OUTPUT Connections
An RJ-45 VIA!NET Data Bus Loop is provided for feedback and amplifier status. Before the
amplifier will provide feedback, the D16 amplifier must be set to ELAN Mode with unique
VIA!NET addresses for each "D series Amplifier."
(See "Operating Mode Menu" on page 23 and VIA!NET Address Menu on page 33.)
Figure 3-10 VIA!NET Loop Input / Output

Table of Contents

Related product manuals