EasyManua.ls Logo

ELNA 3230 - Needle Swing; Adjusting Procedure

ELNA 3230
31 pages
Print Icon
To Next Page IconTo Next Page
To Next Page IconTo Next Page
To Previous Page IconTo Previous Page
To Previous Page IconTo Previous Page
Loading...
Elna International Corps. SA 3210 / 3230 Service manual
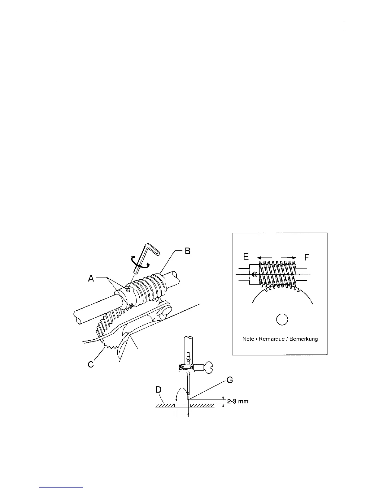
Needle Swing
If the needle swings when it is still in the fabric, correct it as follows:
Adjusting procedure:
1. Remove the face cover and top cover (See pages 4-5).
2. Select zigzag stitch and set the stitch width control at "6.5".
3. Loosen 2 screws A in the upper shaft worm B.
4. Adjust the needle swing by turning the handwheel by hand while holding the worm B so as not to
rotate it, until the needle starts to swing 2-3 mm above the needle plate when coming out from
the right side G of the hole in the needle plate D.
5. Tighten 2 screws A firmly.
6. Attach the top cover and face cover.
Note:
The upper shaft shall turn smoothly without an excess backlash in the worm gear. If necessary
adjust the backlash by pushing the worms B in direction E or F.
Seite 11

Related product manuals