EasyManua.ls Logo

Eton VECTOR ST 250 - TROUBLESHOOTING

Eton VECTOR ST 250
154 pages
Print Icon
To Next Page IconTo Next Page
To Next Page IconTo Next Page
To Previous Page IconTo Previous Page
To Previous Page IconTo Previous Page
Loading...
17
4-2 Precautions in Operation
General Information:
z This chapter contains maintenance operation
for the engine oil pump and gear oil
replacement.
Specifications
Engine oil quantity Disassembly: 1400 c.c.
Change: 1200c.c.
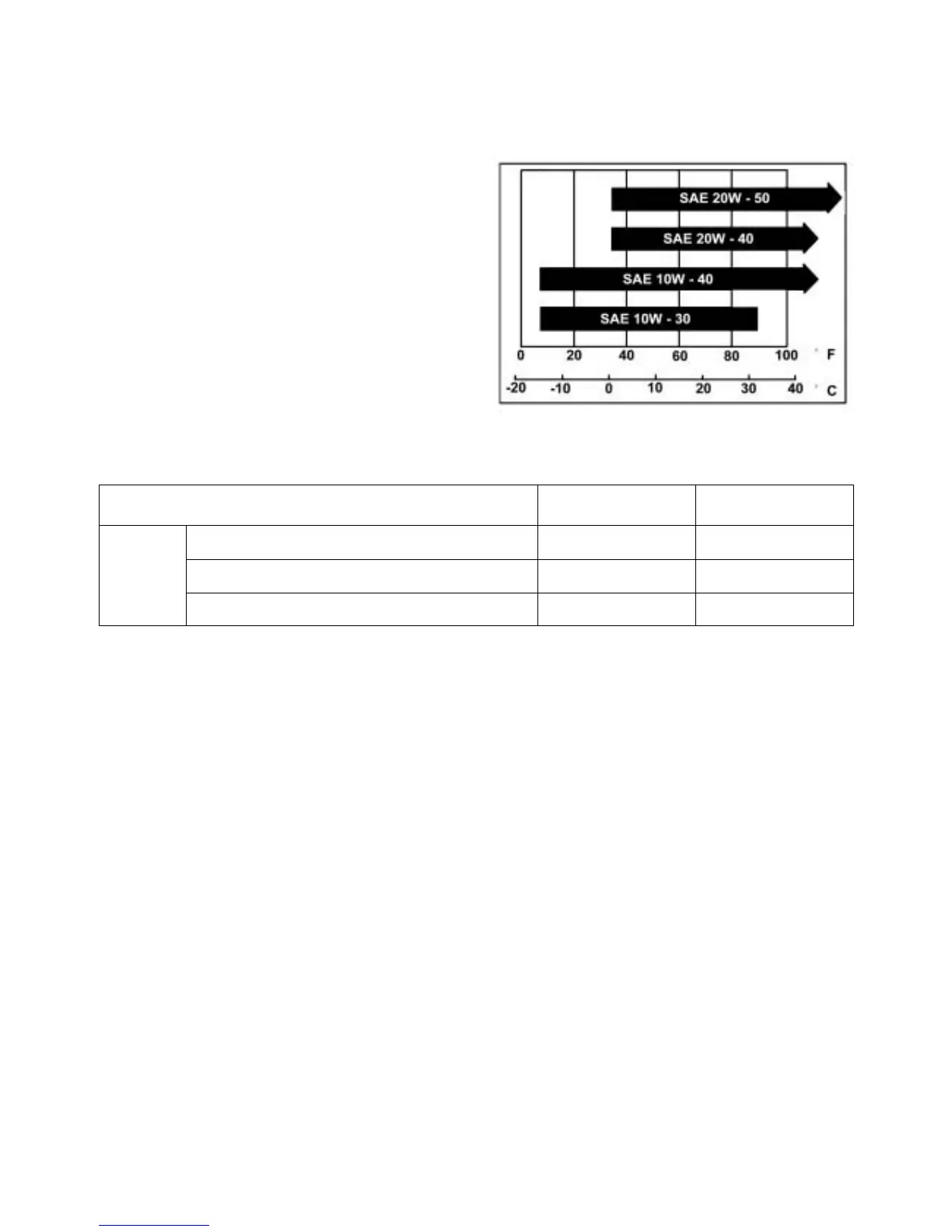
Oil viscosity SAE 10W-30 (Recommended
King serial oils)
Gear oil Disassembly: 750c.c.
Change: 650c.c.
Gear oil viscosity SAE 140
(Recommended SYM Hypoid gear oils)
單位:mm
Items Standard (mm) Limit (mm)
Inner rotor clearance 0.15 0.20
Clearance between outer rotor and body 0.15~0.20 0.25
Oil pump
Clearance between rotor side and body 0.04~0.09 0.12
Torque value
Torque value oil strainer cap 1.5~3.0kgf-m
Engine oil drain bolt 1.9~2.5kgf-m
Gear oil drain bolt 1.0~1.5kgf-m
Gear oil join bolt 1.0~1.5kgf-m
Oil pump connection bolt 0.8~1.2kgf-m
4-3 Troubleshooting
Low engine oil level
y Oil leaking
y Valve guide or seat worn out
y Piston ring worn out
Low oil pressure
y Low engine oil level
y Clogged in oil strainer, circuits or pipes
y Oil pump damage
Dirty oil
y No oil change in periodical
y Cylinder head gasket damage
y Piston ring worn out

Table of Contents

Related product manuals