EasyManua.ls Logo

Expert SmartTurn - Page 19

Expert SmartTurn
70 pages
Print Icon
To Next Page IconTo Next Page
To Next Page IconTo Next Page
To Previous Page IconTo Previous Page
To Previous Page IconTo Previous Page
Loading...
Turntable control SmartTurn
Structure and function
Dok-ID:EXPERT-0003-EN-2011 19
Pos: 4.7 / S martT ur n/Sm artT urn- Neu- 02.2011/4.2 -d Fu nkti on spri nzi p - Gr afik @ 2\mod_1296801075498_38.doc @ 25890
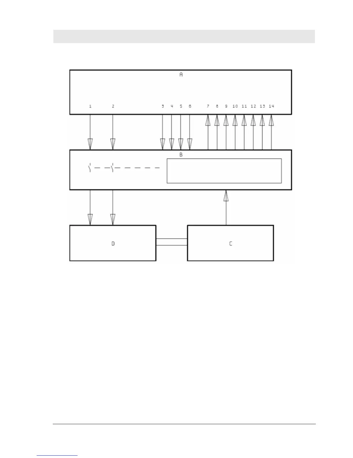
Functional principle diagram
Fig. 3 Functional principle
A: PLC plant controller
1 "Start forward"
2 "Start backward"
3 "Slow ON"
4 „"Operating mode"
5 "Pre-select cycles bit 1"
6 "Pre-select cycles bit 2"
7 "0-position"
8 „Overrun forward"
9 „Overrun back"
10 „End of the lock angle"
11 "Position forward"
12 „Position back"
13 „In the lock angle"
14 „System fault"
B: SmartTurn
control unit
"Position analysis controller"
C: SmartTurn
sensor
"Turntable position"
D: „
Turntable drive"

Table of Contents