EasyManua.ls Logo

Fiat FIORINO 2021 - Digital Display

Fiat FIORINO 2021
256 pages
Print Icon
To Next Page IconTo Next Page
To Next Page IconTo Next Page
To Previous Page IconTo Previous Page
To Previous Page IconTo Previous Page
Loading...
69
stop the engine and contact a Fiat
Dealership.
10)
IMPORTANT
10)
If the needle for the engine coolant
temperature reaches the red area, stop
the engine immediately and contact a Fiat
Dealership.
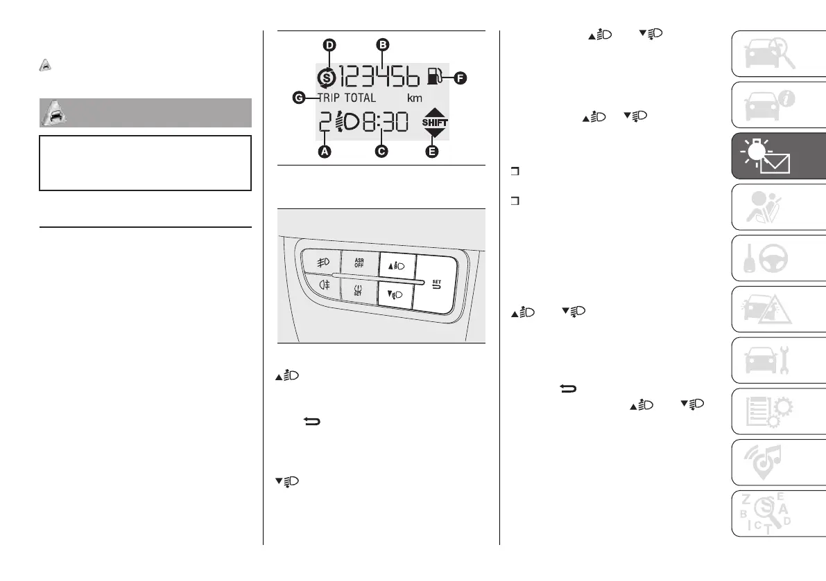
DIGITAL DISPLAY
STANDARD SCREEN
The standard screen fig. 129 shows
the following information:
A Headlamp alignment position (only
with dipped headlamps on).
B Milometer (display of kilometres, or
miles, travelled).
C Time.
D START&STOP function indicator (for
versions/markets where provided)
E Gear Shift Indication (for
versions/markets, where provided).
F Petrol operation (Natural Power
versions).
G Trip computer data.
Note With key removed (when opening
at least one of the front doors) the
display turns on and shows the time
and distance covered for a few
seconds.
129 F0T0811
CONTROL BUTTONS
130 F0T0500
To scroll up through the screen
and the related options or to increase
the displayed value.
SET Press briefly to access the
menu and/or go to next screen or
confirm the selection. Hold down to go
back to the standard screen.
To scroll down through the screen
and the related options or to decrease
the displayed value.
Note Buttons and activate
different functions according to the
following situations:
Headlight alignment adjustment
With the dipped beam headlights on,
press button or to adjust
headlight alignment.
Setup menu
within the menu, they allow you to
scroll up or down through the options;
to increase or decrease values during
settings.
SETUP MENU
Setup menu functions
The menu comprises a series of
functions arranged in a "circular way",
which can be selected through the
and buttons to access the
different selection operations and
settings (setup) given in the following
paragraphs.
The menu can be activated by pressing
the SET button briefly.
Single presses on the and
buttons will scroll the setup menu
options.
Management modes differ according
to the characteristic of the option
selected.
The menu includes the following items:

Table of Contents

Related product manuals