EasyManua.ls Logo

FISCHBEIN F - Page 71

FISCHBEIN F
77 pages
Print Icon
To Next Page IconTo Next Page
To Next Page IconTo Next Page
To Previous Page IconTo Previous Page
To Previous Page IconTo Previous Page
Loading...
FISCHBEIN
®
F SERIES PORTABLE SEWING MACHINES
OPERATOR’S MANUAL
REV. H 9/2011
71
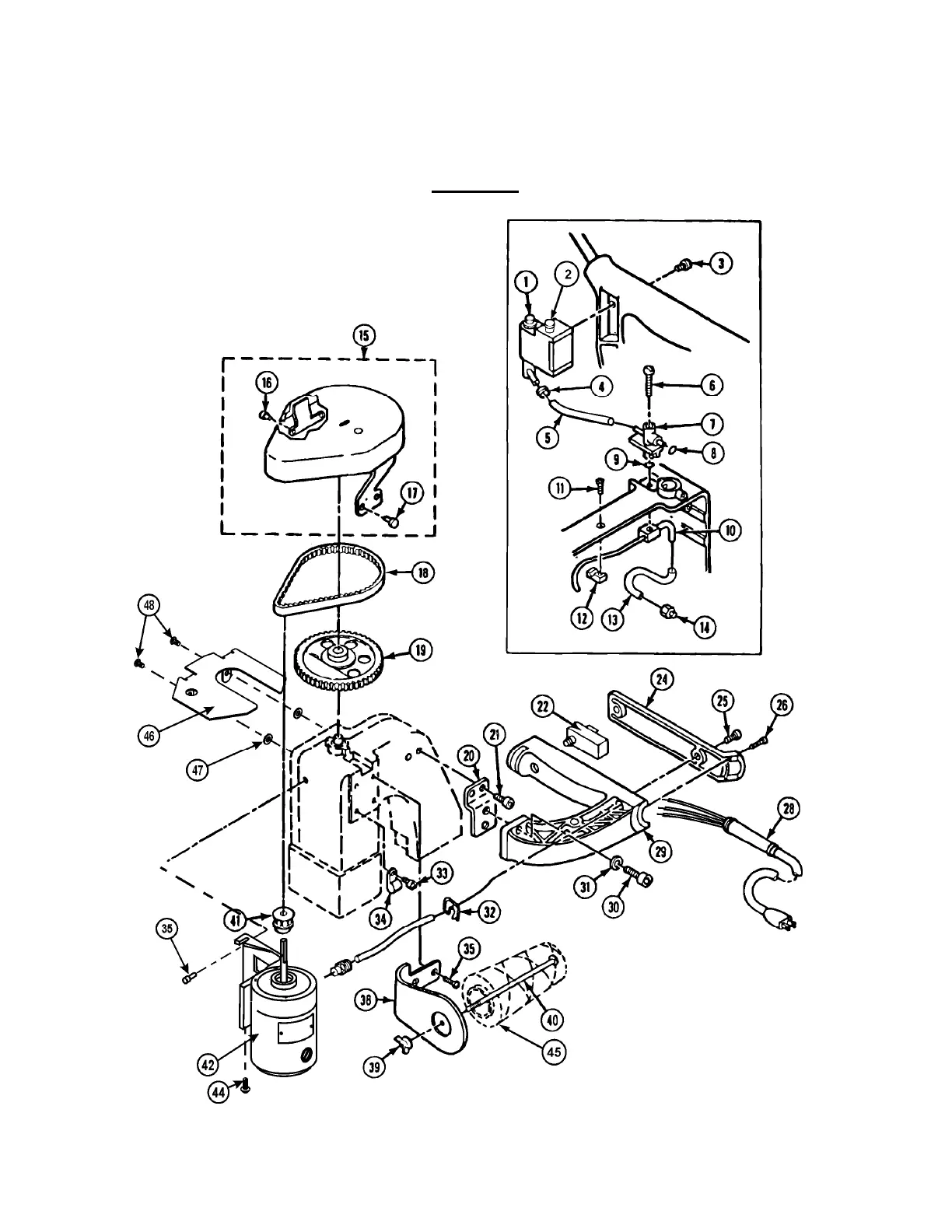
PLATE I

Other manuals for FISCHBEIN F

Related product manuals