EasyManua.ls Logo

Fluke 732B - Page 40

Fluke 732B
124 pages
Print Icon
To Next Page IconTo Next Page
To Next Page IconTo Next Page
To Previous Page IconTo Previous Page
To Previous Page IconTo Previous Page
Loading...
732B/734A
Instruction Manual
3-6
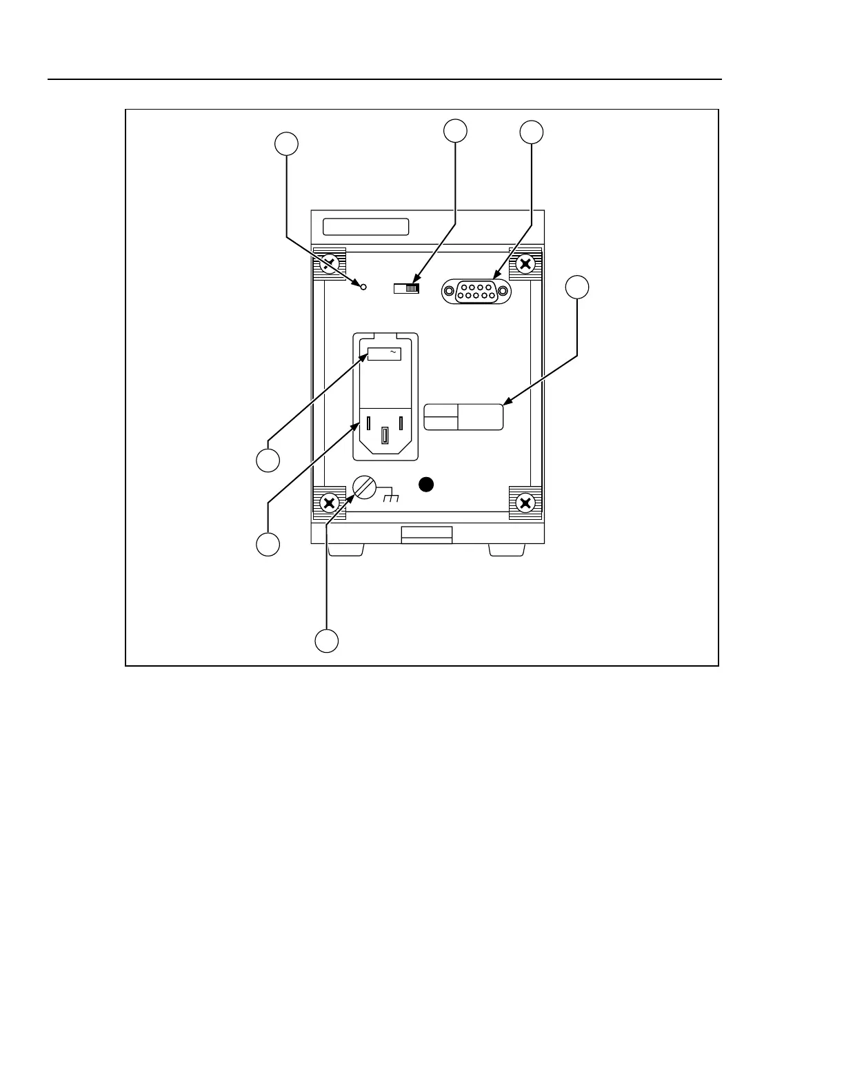
J502
MONITOR/EXT BAT IN
(SEE MANUAL FOR PINOUT)
1
2
6
7
CAUTION:
FOR FIRE PROTECTION,
REPLACE ONLY WITH
A 250V FUSE OF
INDICATED VALUE
T 3/16 (3AG)
100/120
220/240
I
120Vac
50/60 Hz 66W MAX
O
FLUKE CORPORATION
MADE IN USA
CAL
RESET
3
4
5
BAT
k6f.eps
Figure 3-2. 732B DC Standard Rear Panel Features
www.valuetronics.com

Table of Contents

Related product manuals