EasyManua.ls Logo

Fostex VM200 - Analog Control Section

Fostex VM200
234 pages
Print Icon
To Next Page IconTo Next Page
To Next Page IconTo Next Page
To Previous Page IconTo Previous Page
To Previous Page IconTo Previous Page
Loading...
Analog Control Section
VM200 User’s Guide
19
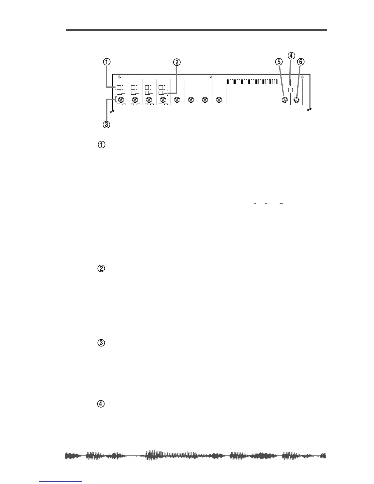
Analog Control Section
A/B Input selectors
The VM200 features four A/B Input selectors that enable you to
select the A or B inputs for input channels 1 through 4.
The A Inputs are balanced XLR-type connectors for use with micro-
phones that feature XLR-type plugs, such as condenser microphones,
or other input devices that require XLR connectors.
The B Inputs are balanced/unbalanced TRS (t
ip-ring-sleeve) phone
connectors, for use with dynamic microphones and other sound
sources that require phone jacks. (These connectors will accept bal-
anced or unbalanced inputs.)
For more information, see “Input Channels 1–4” on page 60.
The A Inputs are selected by default (the selector is not depressed).
Press the A/B Input Selector to select the B input.
PAD (26dB) switches
The four Pad switches turn the 26 dB input pads on and off for input
channels 1–4.
When turned on, the input pads attenuate the signal by 26 dB. This
helps the preamp handle “hot” signals.
For more information, see “Pad Switches (Input channels 1–4)” on
page 63.
TRIM controls
The four Trim controls (1–4) attenuate the gain of the input preamps
in the range of +10 to -34 or -16 to -60 dB, depending on whether or
not the signal is attenuated by the Pad 26dB switch. The other four
Trim controls (5–8) attenuate the gain of the input preamps in the
range of -10 to -50.
2TRK IN switch
The 2TRK IN switch enables you to monitor the signal input to the
2TRK IN connector on the rear panel. You can monitor this signal
through MONITOR OUT or PHONES OUT. The signal is unaffected by
mixer settings.
INPUT 4INPUT 3INPUT 2INPUT 1
PAD
26dB
A
B
PAD
26dB
A
B
PAD
26dB
A
B
PAD
26dB
A
B
-16
-60
+10
-34
-16
-60
+10
-34
-16
-60
-16 -60
TRIMTRIMTRIMTRIM TRIM
-10 -50
TRIM TRIM TRIM
-10 -50
-10 -50
-10 -50
INPUT 5 INPUT 6 INPUT 7 INPUT 8
MIN MAX
GAIN
MAXMIN
GAIN
2TRK IN
PHONESMONITOR
+10
-34
+10
-34

Table of Contents

Other manuals for Fostex VM200