EasyManua.ls Logo

Fostex VM200 - Rear Panel

Fostex VM200
234 pages
Print Icon
To Next Page IconTo Next Page
To Next Page IconTo Next Page
To Previous Page IconTo Previous Page
To Previous Page IconTo Previous Page
Loading...
Touring the VM200
38 VM200 User’s Guide
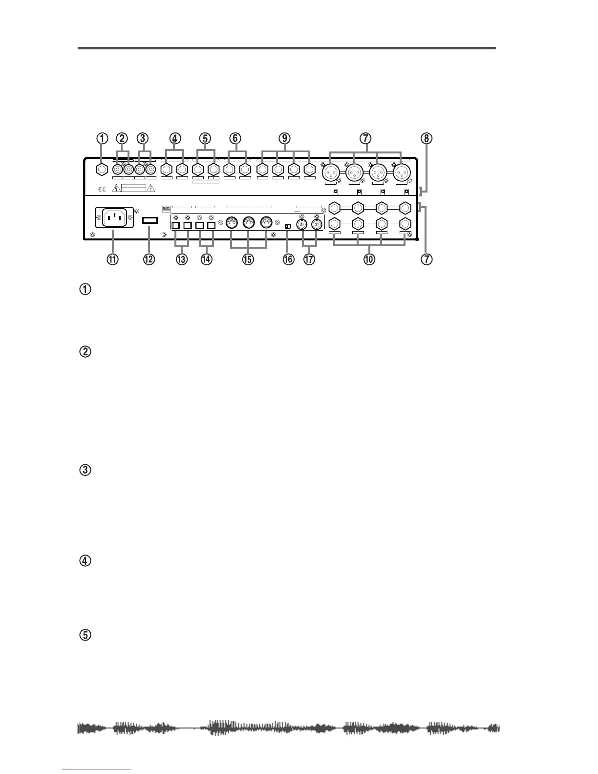
Rear Panel
All inputs and outputs on the VM200 are conveniently located on
the rear panel. The following paragraphs briefly describe each input
and output.
PHONES
Connect a pair of stereo headphones to this stereo (TRS) phone jack.
Set the output level using the PHONES Gain knob on the top panel.
MONITOR OUT
Connect this pair of RCA phono jacks to the inputs on your monitor-
ing amplifier.
Select the monitor signal you wish to output through these jacks
using the MON SEL parameter on the SETUP:SYSTEM 1:CLOCK/MON func-
tion page (see “Setup Section” on page 23).
Set the output level using the MONITOR Gain knob on the top panel.
2TRK In
You can input a two-track signal, such as the stereo outputs from a
master recorder, to this pair of RCA phono jacks for confidence mon-
itoring.
Press the 2TRK IN switch on the top panel to monitor the signal.
ST BUSS OUT
The Stereo Buss Out (ST BUSS OUT) is a pair of unbalanced
1/4-inch phone jacks that outputs the left and right channels of the
main stereo mix.
REC BUSS OUT
The Rec Buss Out (REC BUSS OUT) is a pair of unbalanced
1/4-inch phone jacks that outputs the record buss.
When the ADD. AUX parameter is turned on, the REC BUSS OUT
outputs Aux Sends 3 and 4.
RISQUE ELECTRIQUECHOCDE
CAUTION
RISK OF ELECTRIC SHOCK
DO NOT OPEN
AVIS:
NE PAS OUVRIR.
WARNING:
TO
SHOCK,DO NOT EXPOSE THIS EQUIPMENT
TO RAIN OR MOISTURE.
REDUCE THE RISK OF FIRE OR ELECTRIC
RLR
LRLR4L32
18765
1234
AAA
1234
+48V
OFF
ON
+48V
OFF
ON
+48V
OFF
ON
+48V
OFF
ON
PHONES
OPTICAL
WORD
OUTIN
AC IN
POWER
S/P DIF
IN OUTOUTIN
MIDI
OUTTHRU
75
OFFON
INPUT
INSERT
B
INSERTINSERT
BB
ADD.AUX SEND
AUX SENDST BUSS OUT2TRK IN
MONITOR OUT
REC BUSS OUT
IN
ADAT

Table of Contents

Other manuals for Fostex VM200