EasyManua.ls Logo

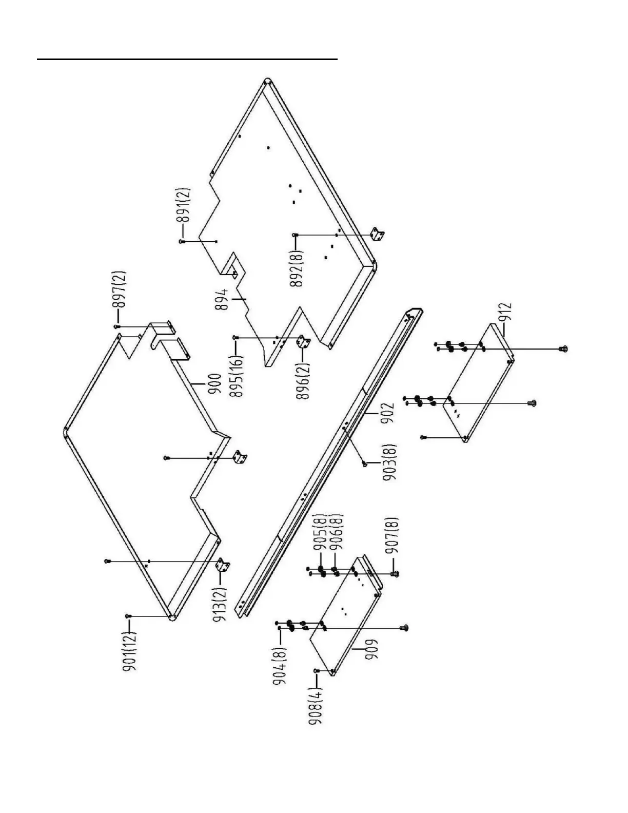
FRYER CM Series - CM-15 Top Cover Assembly Drawing

FRYER CM Series
73 pages
Print Icon
To Next Page IconTo Next Page
To Next Page IconTo Next Page
To Previous Page IconTo Previous Page
To Previous Page IconTo Previous Page
Loading...
44
6.8 CM-15 TOP COVER ASSEMBLY DRAWING

Table of Contents