EasyManua.ls Logo

Fuso ROSA 2014 - Power Steering Fluid

Default Icon
122 pages
Print Icon
To Next Page IconTo Next Page
To Next Page IconTo Next Page
To Previous Page IconTo Previous Page
To Previous Page IconTo Previous Page
Loading...
STEERING SYSTEM
3-50
36. POWER STEERING FLUID
Recommended fluid:
Automatic transmission fluid
DEXRON ll or DEXRON lII type
1. Jack up the front wheels.
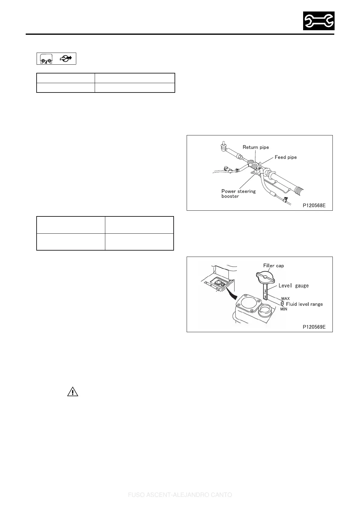
2. Clean the port areas of pipes to prevent entry of
dirt, dust, and other foreign material inside the
power steering booster.
3. Loosen pipes connected to the power steering
booster.
4. Repeatedly turn the steering wheel fully left and
right to drain the fluid from the power steering
booster.
5. After draining the fluid, tighten the pipes to spec-
ified torque.
6. Pour fluid into the power steering oil tank up to
the bottom of the filler cap.
7. Repeatedly turn the steering wheel fully left and
right. When the fluid level has dropped, add suf-
ficient fluid to maintain the fluid level within the
specified range.
8. Start the engine to idle.
9. When the fluid level has dropped, stop the
engine and add sufficient fluid to maintain the
fluid level within the specified range.
10. Restart the engine. While checking for a drop in
fluid level, turn the steering wheel fully left and
right and add fluid as much as necessary.
Repeat this practice until the fluid level is stabi-
lized within the specified range.
11. Turn the steering wheel fully left and right
repeatedly.
CAUTION
To avoid seizure of the power steering oil
pump, do not keep the steering wheel turned
fully to left or right for more than 10 seconds
when the engine is running.
Do not rev the engine during air bleeding;
otherwise, the power steering pipe may to
break. Run the engine at idle.
Inspection intervals Every 5,000 km (3,000 miles)
Replacement intervals Every 50,000 km (30,000 miles)
Feed pipe tightening
torque
29.4 to 39.2 Nm
(3 to 4 kgfm)
Return pipe tightening
torque
39.2 to 49.0 Nm
(4 to 5 kgfm)
FUSO ASCENT-ALEJANDRO CANTO

Table of Contents

Related product manuals