EasyManua.ls Logo

Fuso ROSA 2014 - Power Steering Hose

Default Icon
122 pages
Print Icon
To Next Page IconTo Next Page
To Next Page IconTo Next Page
To Previous Page IconTo Previous Page
To Previous Page IconTo Previous Page
Loading...
STEERING SYSTEM
3-54
42. POWER STEERING HOSE
POWER STEERING HOSE DAMAGE
Check the power steering hoses for deteriora-
tion, swelling, chafing, and cracks.
Check also for loose connections.
POWER STEERING HOSE REPLACEMENT
Replace the hose in the power steering system.
Replacement intervals
Every 24 months
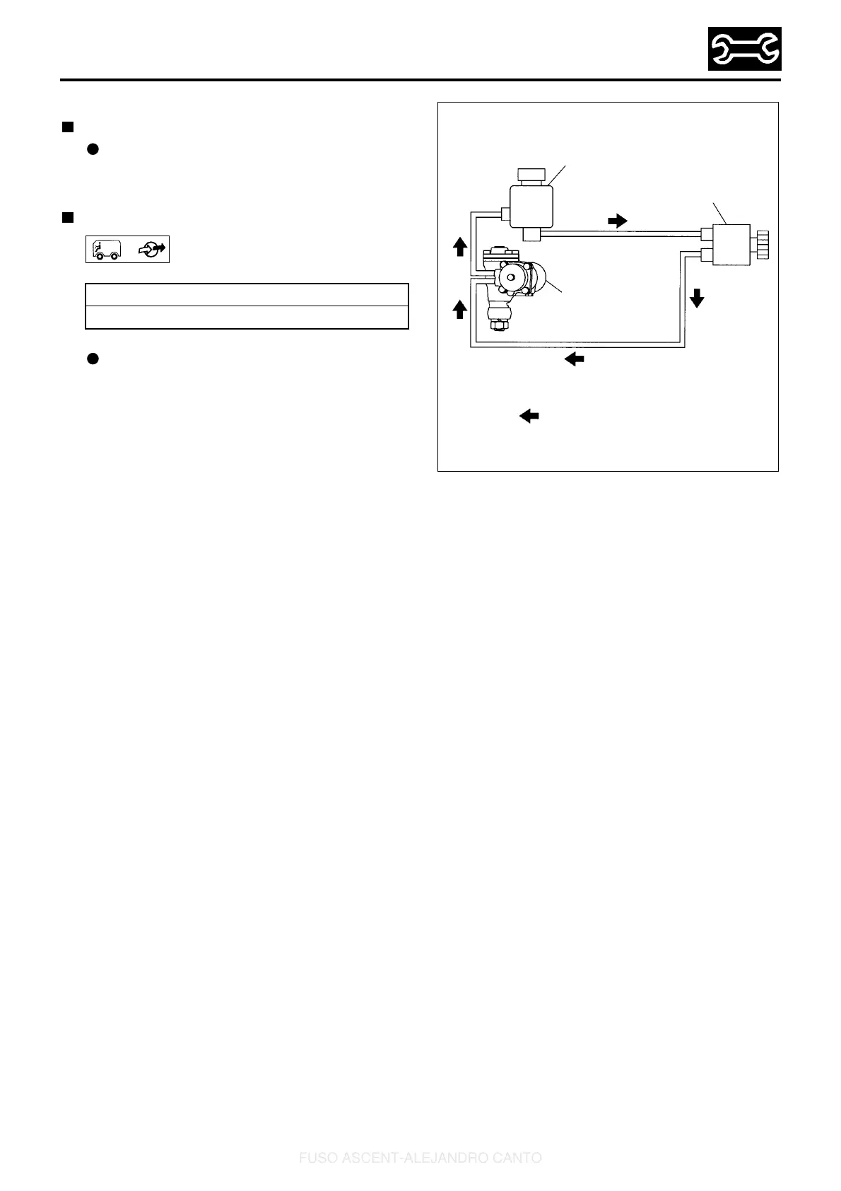
Power steering oil tank
Power steering oil pump
Power steering gear
: Direction of oil flow
FUSO ASCENT-ALEJANDRO CANTO

Table of Contents

Related product manuals