EasyManua.ls Logo

Geller TL-550 - Setting Up; Installing the Cash Register; Initializing Your Cash Register

Default Icon
88 pages
Print Icon
To Next Page IconTo Next Page
To Next Page IconTo Next Page
To Previous Page IconTo Previous Page
To Previous Page IconTo Previous Page
Loading...
8
2. Setting Up
1
2
3
4
5
6
7
8
9
10
11
12
This chapter explains what steps are required before programming the cash register.
2.1 Installing the Cash Register
To install the cash register:
1
. Place the cash register in a location near a wall outlet.
Be sure not to locate the cash register in any of the conditions described in
section 1.2, “Precautions”.
2
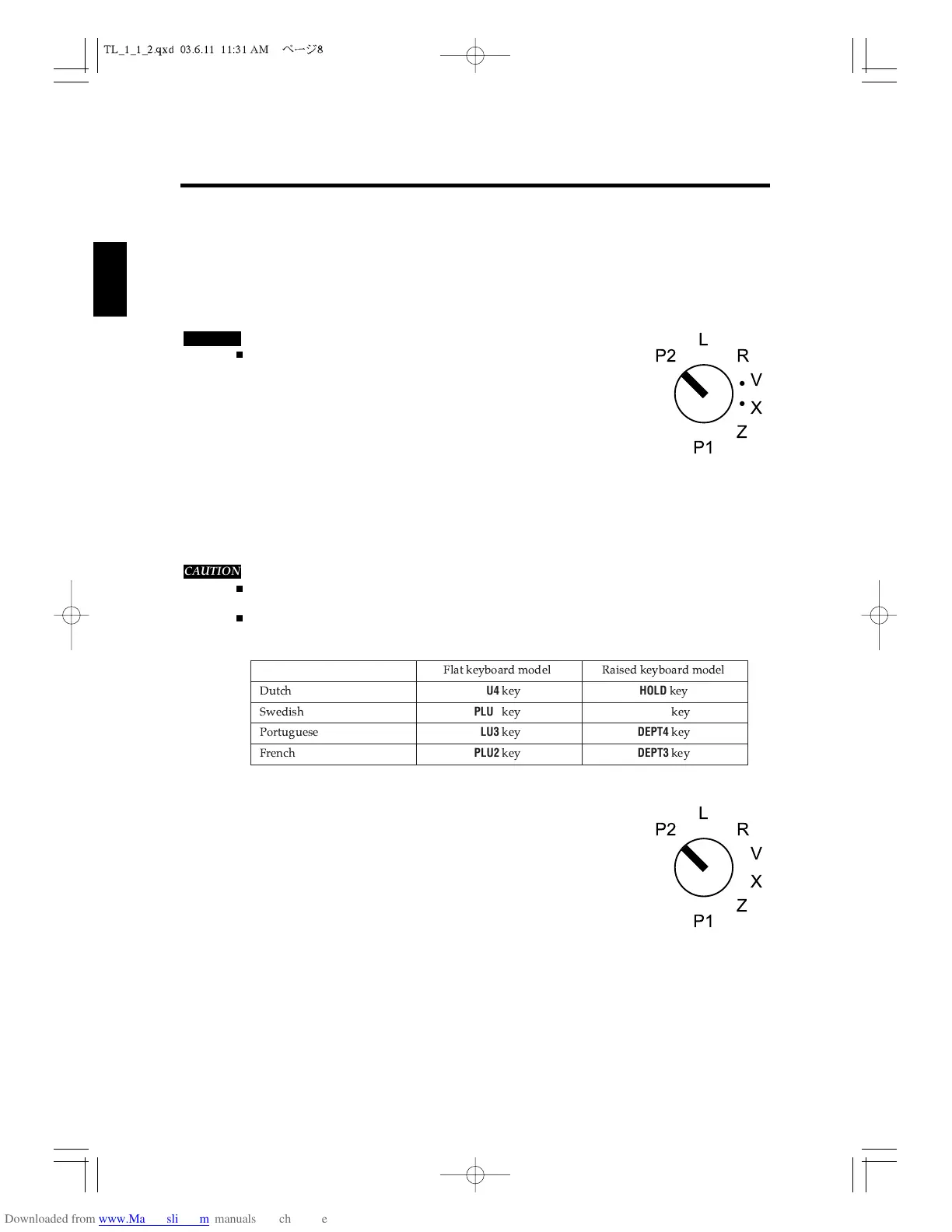
. Insert the owner’s key (marked with “OW”) into the control
lock and turn it to the “P2” position.
3
. Plug the power cord into the outlet.
4
. Make sure that the register display reads “HALF RESET.”
5
. Turn the owner’s key to the “L” position to turn off the display.
2.2 Initializing Your Cash Register
Before programming the cash register, you must initialize the cash register’s memory.
Do not perform the following steps during programming or normal operation. These steps will
clear all of the settings you have programmed and erase all sales information in the register.
If you select French, Dutch, Swedish or Portuguese instead of English for display and print, please
read
CLEAR
key in the step 4 to the following key according to the selected language and your ECR
model:
These keys (
PLU 2-5
or
HOLD
) refer to default positions at R mode.
To initialize the cash register:
1
Turn the owner’s key to the “L” position.
2
. Remove the power cord from the outlet.
3
. Turn the owner’s key to the “P2” position.
4
. Plug the power code while pressing the CLR key and hold
the key down for at least two seconds. “SYSTEM CLEAR”
will appear in the display. At this point, the register has been initialized.
5
. Turn the owner’s key to the “L” position to turn off the display.
・・
X
V
R
Z
P2
P1
L
CAUTION
・・
X
V
R
Z
P2
P1
L
CAUTION
     

PLU4

HOLD


PLU5

DEPT5


PLU3

DEPT4


PLU2

DEPT3


Table of Contents

Related product manuals