EasyManua.ls Logo

Groen CC20-E - Page 17

Groen CC20-E
314 pages
Print Icon
To Next Page IconTo Next Page
To Next Page IconTo Next Page
To Previous Page IconTo Previous Page
To Previous Page IconTo Previous Page
Loading...
CC10-E
Operation
Prior to Serial Number C7439MS
2-142-142-14
(Revised 1/02)
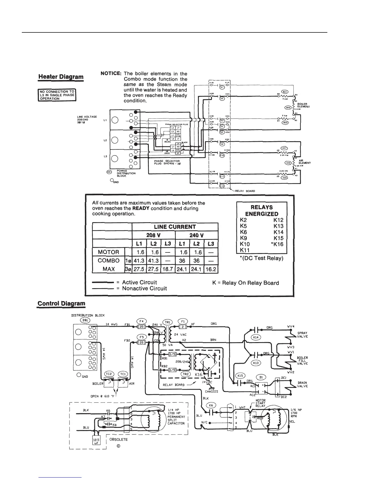
Combo Mode Circuit

Related product manuals