EasyManua.ls Logo

Groen CC20-E - Motor Shaft Housing Seal.. 1

Groen CC20-E
314 pages
Print Icon
To Next Page IconTo Next Page
To Next Page IconTo Next Page
To Previous Page IconTo Previous Page
To Previous Page IconTo Previous Page
Loading...
CC10-G
Parts List
4-26
MOTOR
13
(Revised 1/02)
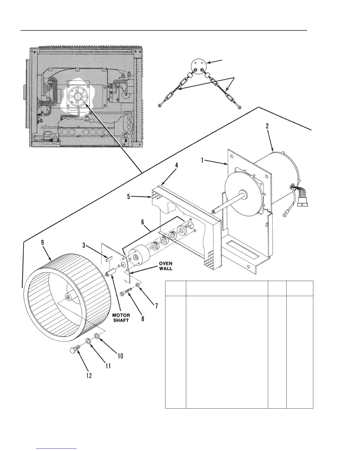
Figure 2. Fan and Motor
* Not Shown
1 Bracket Assy ........................... 1 070100
2 Motor & Heat Stinger Assy...... 1 090760
3 Key, 1/8" Square 303 S.S. ...... 1 071288
4 Insulation Retainer Assy.......... 1 071228
5 Insulation Nut Plate................. 1 069770
6 Motor Seal Assy ...................... 1 071299
Washer Seal Housing ........... 1 070458
Packing ................................ 3 070459
Motor Shaft Housing Seal..... 1 070457
7 Washer, Fiber ......................... 3 071300
8 Screw, Truss Head S.S. .......... 3 081698
9 Wheel Blower ......................... 1 085080
10 Washer, Flat ........................... 1 059228
11 Washer, Lock ......................... 1 05656
12 Screw, Hex Head Cap S.S...... 1 05613
13 Kit Fan Isolator........................ 1 104295
Item Description Qty.
Part
No.

Related product manuals