EasyManua.ls Logo

Groen CC20-E - Page 56

Groen CC20-E
314 pages
Print Icon
To Next Page IconTo Next Page
To Next Page IconTo Next Page
To Previous Page IconTo Previous Page
To Previous Page IconTo Previous Page
Loading...
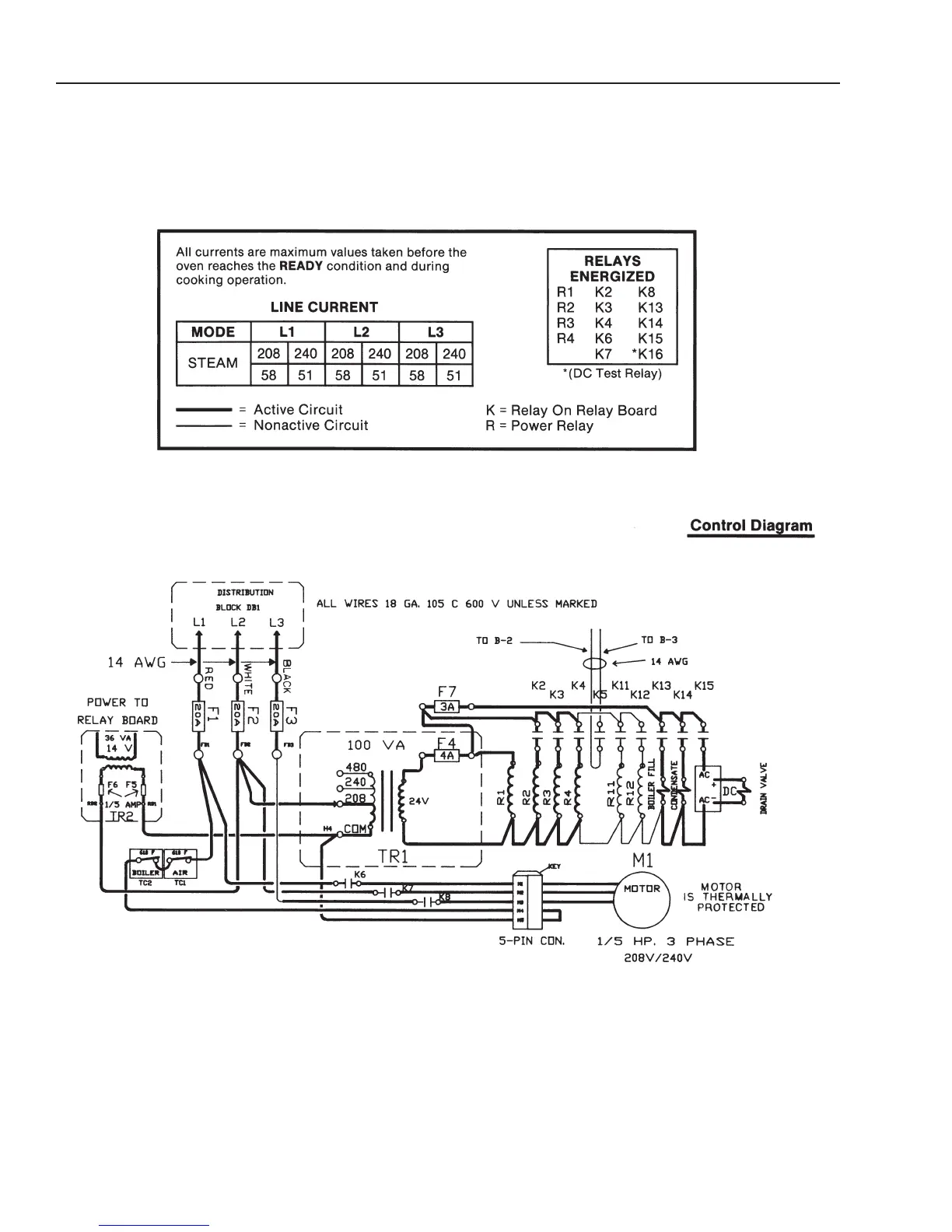
CC20-E
Electrical Diagrams
Prior to Serial Number C7439MS
3-243-243-243-24
(Revised 1/02)
S
team Mode Circuit for 208/240 Volt Units

Related product manuals