EasyManua.ls Logo

Groen CC20-E - Page 61

Groen CC20-E
314 pages
Print Icon
To Next Page IconTo Next Page
To Next Page IconTo Next Page
To Previous Page IconTo Previous Page
To Previous Page IconTo Previous Page
Loading...
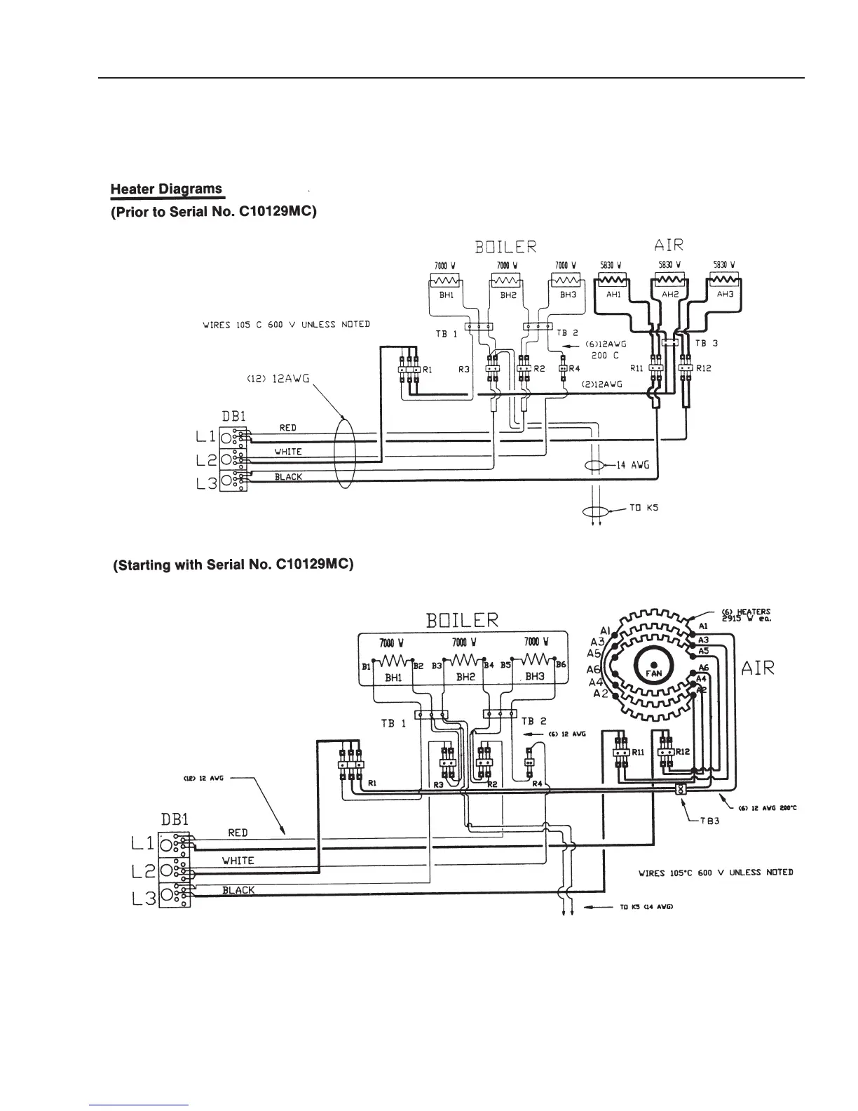
CC20-E
Electrical Diagrams
Prior to Serial Number C7439MS
3-293-293-293-293-29
(Revised 1/02)
O
ven Mode Circuit for 208/240 Volt Units

Related product manuals