EasyManua.ls Logo

Groen CC20-E - Page 64

Groen CC20-E
314 pages
Print Icon
To Next Page IconTo Next Page
To Next Page IconTo Next Page
To Previous Page IconTo Previous Page
To Previous Page IconTo Previous Page
Loading...
CC20-E
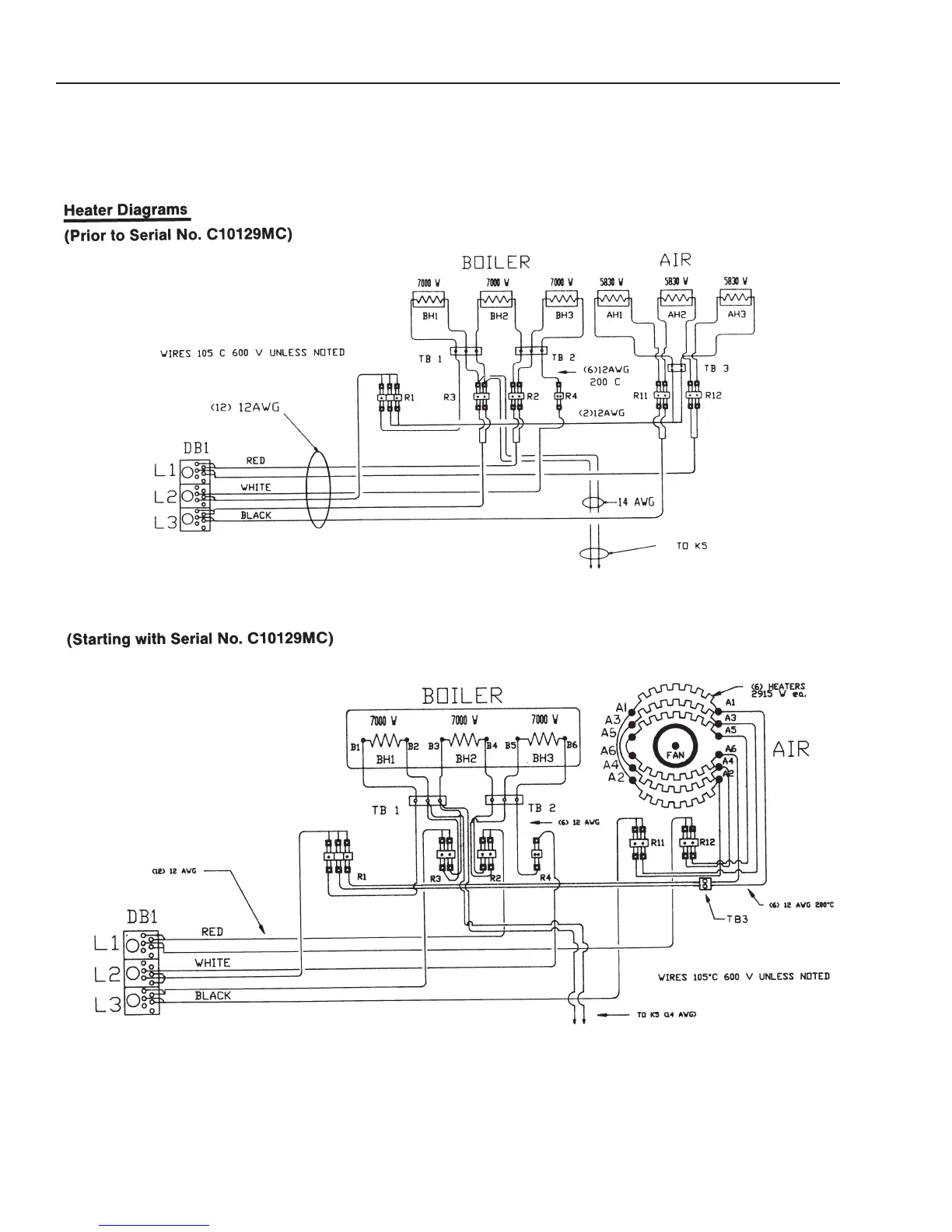
Electrical Diagrams
Prior to Serial Number C7439MS
3-323-323-323-323-32
(Revised 1/02)
S
chematic Diagrams for 208/240 Volt Oven

Related product manuals