EasyManua.ls Logo

Groen CC20-E - Page 66

Groen CC20-E
314 pages
Print Icon
To Next Page IconTo Next Page
To Next Page IconTo Next Page
To Previous Page IconTo Previous Page
To Previous Page IconTo Previous Page
Loading...
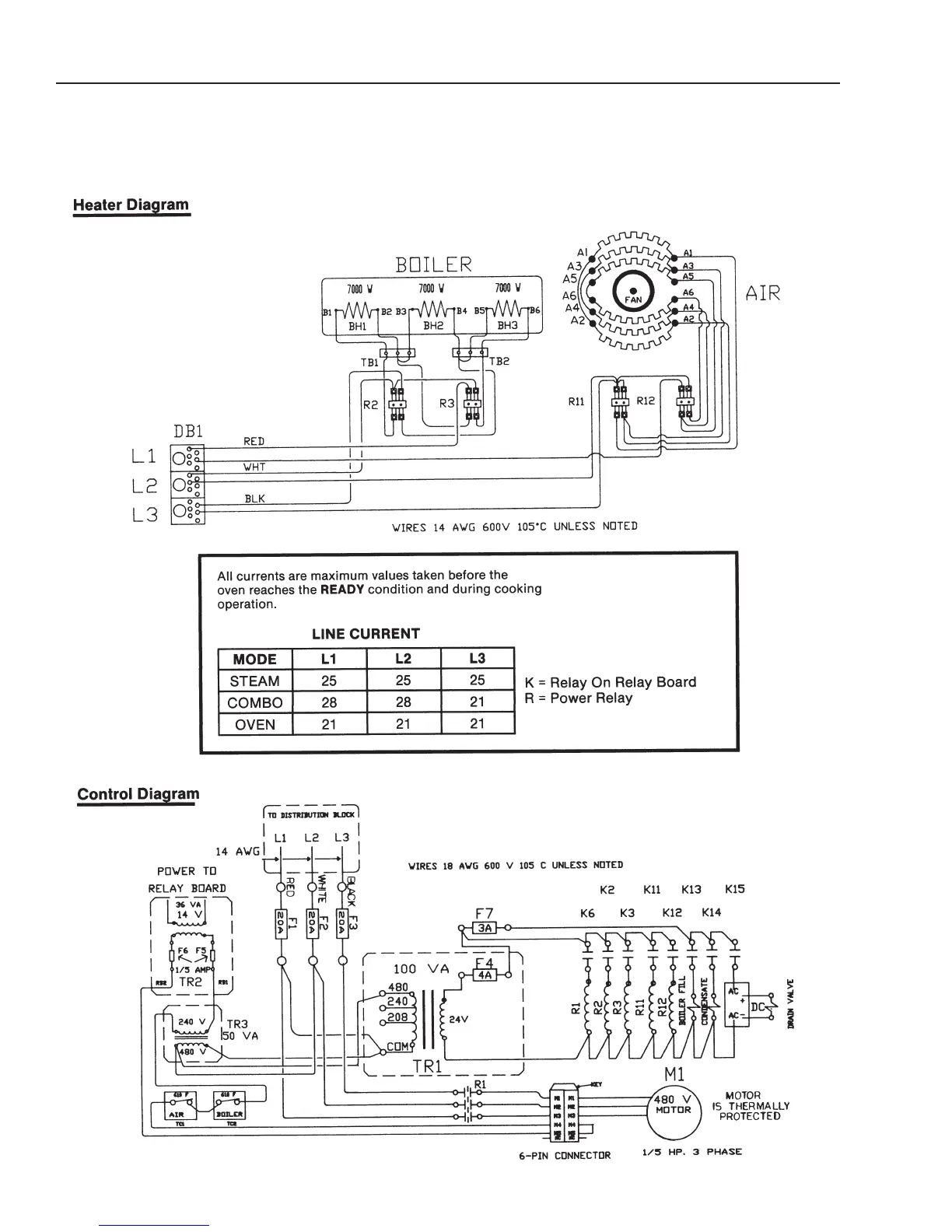
CC20-E
Electrical Diagrams
Prior to Serial Number C7439MS
3-343-343-343-343-34
(Revised 1/02)
S
chematic Diagrams for 480 Volt Oven

Related product manuals