EasyManua.ls Logo

Groen CC20-E - Page 75

Groen CC20-E
314 pages
Print Icon
To Next Page IconTo Next Page
To Next Page IconTo Next Page
To Previous Page IconTo Previous Page
To Previous Page IconTo Previous Page
Loading...
CC20-E
Parts List
3-433-433-433-433-433-43
(Revised 1/02)
16
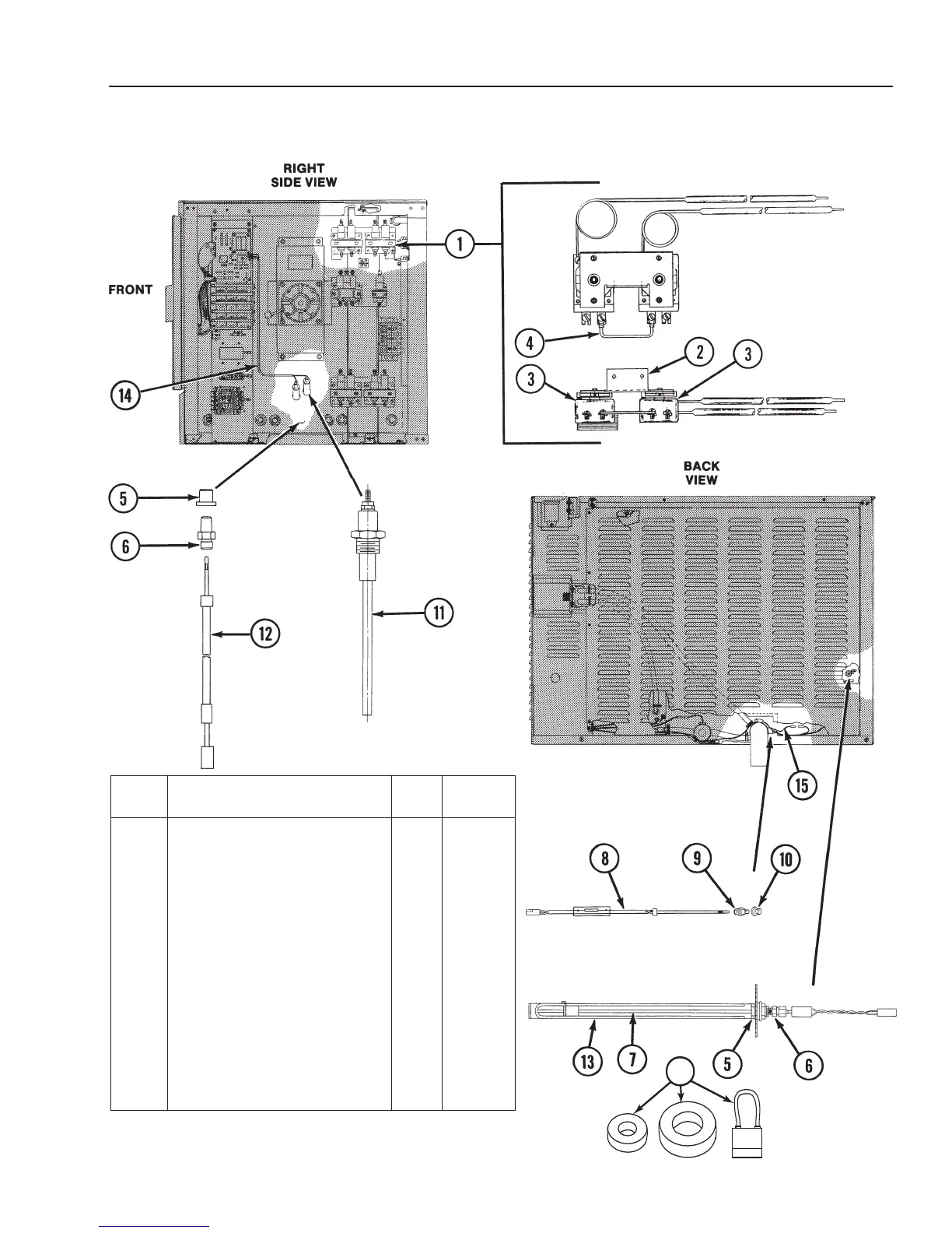
Figure 1. Sensors
1 Thermostats With Plate
Assembly . . . . . . . . . . . . . . . . 1 080799
2 Bracket . . . . . . . . . . . . . . . . 1 080800
3 • Thermostat, 610°F Fixed . . . 2 071499
4 Jumper Assembly (J2) . . . . . 1 073293
5 Fitting S.S. . . . . . . . . . . . . . . 2 071231
6 Fitting, Male . . . . . . . . . . . . . 2 071217
7 Kit, Air Temperature Probe . . . 1 077803
8 Kit, Drain Temperature
Probe . . . . . . . . . . . . . . . . . . . 1 077805
9 Connector, Male . . . . . . . . . . . 1 071251
10 Bushing . . . . . . . . . . . . . . . . . 1 072163
11 Probe, Water . . . . . . . . . . . . . 2 070178
12 Kit, Boiler Temperature Probe 1 093381
13 Air Probe Guard . . . . . . . . . . . 1 074827
14 Water Probe Harness . . . . . . . 1 076494
15 Air & Drain Probe Harness . . 1 076495
16 EMI Kit . . . . . . . . . . . . . . . . . . 1 118830
Item Description Qty.
Part
No.

Related product manuals