EasyManua.ls Logo

HP 8559A - 4-4

HP 8559A
441 pages
Print Icon
To Next Page IconTo Next Page
To Next Page IconTo Next Page
To Previous Page IconTo Previous Page
To Previous Page IconTo Previous Page
Loading...
PERFORMANCE TESTS
MODEL
8559A
PERFORMANCE
TESTS
4-1
1.
FREQUENCY SPAN ACCURACY (Cont'd)
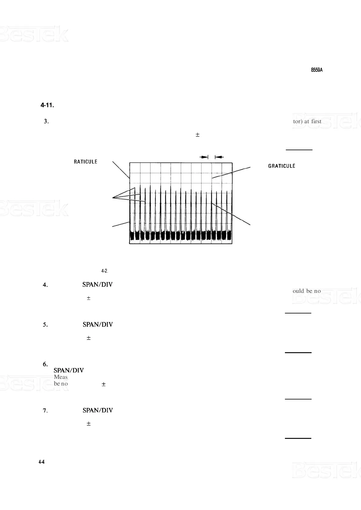
Adjust spectrum analyzer TUNING control to position one spectral line (from comb generator) at first
graticule line (left
-
hand edge of display). Measure the error between 17th spectral line and 9th graticule line
as shown in Figure 4
-
2. Error should be no greater than
+
0.4 division.
FIRST G
FIRST
RATICULE LlNE
COMB SIGNALS
SPECTRAL LlNE
110.4
DIVISION
div
NINTH GRATICULE LlNE
SEVENTEENTH SPECTRAL LlNE
CENTERFREQUENCY
FIGURE
4-2.
FREQUENCY SPAN ACCURACY MEASUREMENT FOR SEVENTEENTH SPECTRAL LlNE
Set FREQ SPAN/DIV to
100
MHz. Adjust TUNING control to position one spectral line on the first
graticule line. Measure the error between ninth spectral line and ninth graticule line. Error should be no
greater than
+
0.4 division.
div
Set FREQ
SPAN/DIV to 50 MHz. Adjust TUNING control to position one spectral line on the first
graticule line. Measure the error between fifth spectral line and ninth graticule line. Error should be no
greater than
k
0.4 division.
div
Set comb generator COMB FREQUENCY
-
MHz for 10
-
MHz comb. Set spectrum analyzer FREQ
SPAN/DIV to 20 MHz. Adjust TUNING control to position one spectral line on the first graticule line.
Measure the error between 17th spectral line and ninth graticule line as shown in Figure
4
-
3.
Error should
be
no greater than
k
0.4 division.
div
Set FREQ
SPAN/DIV to 10 MHz. Adjust TUNING control to position one spectral line on the first
graticule line. Measure the error between ninth spectral line and ninth graticule line. Error should be no
greater than
k
0.4 division.
div

Table of Contents

Related product manuals