EasyManua.ls Logo

HP 8559A - 4-5

HP 8559A
441 pages
Print Icon
To Next Page IconTo Next Page
To Next Page IconTo Next Page
To Previous Page IconTo Previous Page
To Previous Page IconTo Previous Page
Loading...
MODEL 8559A
PERFORMANCE TESTS
PERFORMANCE
TESTS
4-1
1.
FREQUENCY SPAN ACCURACY (Cont'd)
f
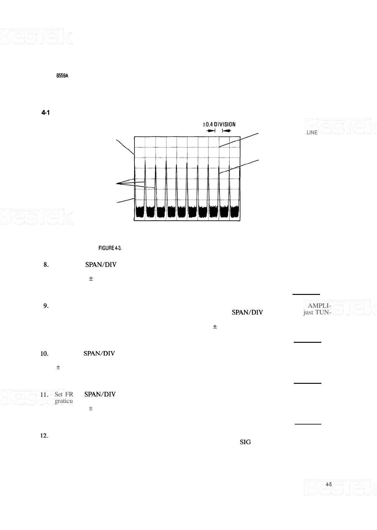
0.4 DIVISION
-d
I4
FIRST GRATICULE LINE
COMB SIGNALS
FIRST SPECTRAL LlNE
NINTH GRATICULE LlNE
NINTH SPECTRAL LlNE
CENTERFREQUENCY
FlGURE4-3.
FREQUENCY SPAN ACCURACY MEASUREMENT FOR NINTH SPECTRAL LINE
Set FREQ SPAN/DIV to
5
MHz. Adjust TUNING control to position one spectral line on the first
graticule line. Measure the error between fifth spectral line and ninth graticule line. Error should be no
greater than
+
0.4 division.
div
Set comb generator COMB FREQUENCY
-
MHz for 1
-
MHz comb and increase OUTPUT AMPLI
-
TUDE control to maximum setting. Set spectrum analyzer FREQ SPAN/DIV to 2 MHz. Adjust TUN
-
ING control to position one spectral line on the first graticule line. Measure the error between 17th spectral
line and ninth graticule line. Error should be no greater than
k
0.4 division.
div
Set FREQ
SPAN/DIV to I MHz. Adjust TUNING control to position one spectral line at first graticule
line. Measure the error between ninth spectral line and ninth graticule line. Error should be no greater than
+
0.4 division.
div
Set FREQ
SPAN/DIV to
500
kHz. Adjust TUNING control to position one spectral line on the first
graticule line. Measure the error between fifth spectral line and ninth graticule line. Error should be no
greater than
+
0.4 division.
div
Set comb generator COMB FREQUENCY
-
MHz for 10
-
MHz comb. Adjust spectrum analyzer TUN
-
ING to position an in
-
band spectral line on the center graticule line (use SIC IDENT if necessary).

Table of Contents

Related product manuals