EasyManua.ls Logo

HPE OfficeConnect 1950 Series

HPE OfficeConnect 1950 Series
182 pages
To Next Page IconTo Next Page
To Next Page IconTo Next Page
To Previous Page IconTo Previous Page
To Previous Page IconTo Previous Page
Loading...
30
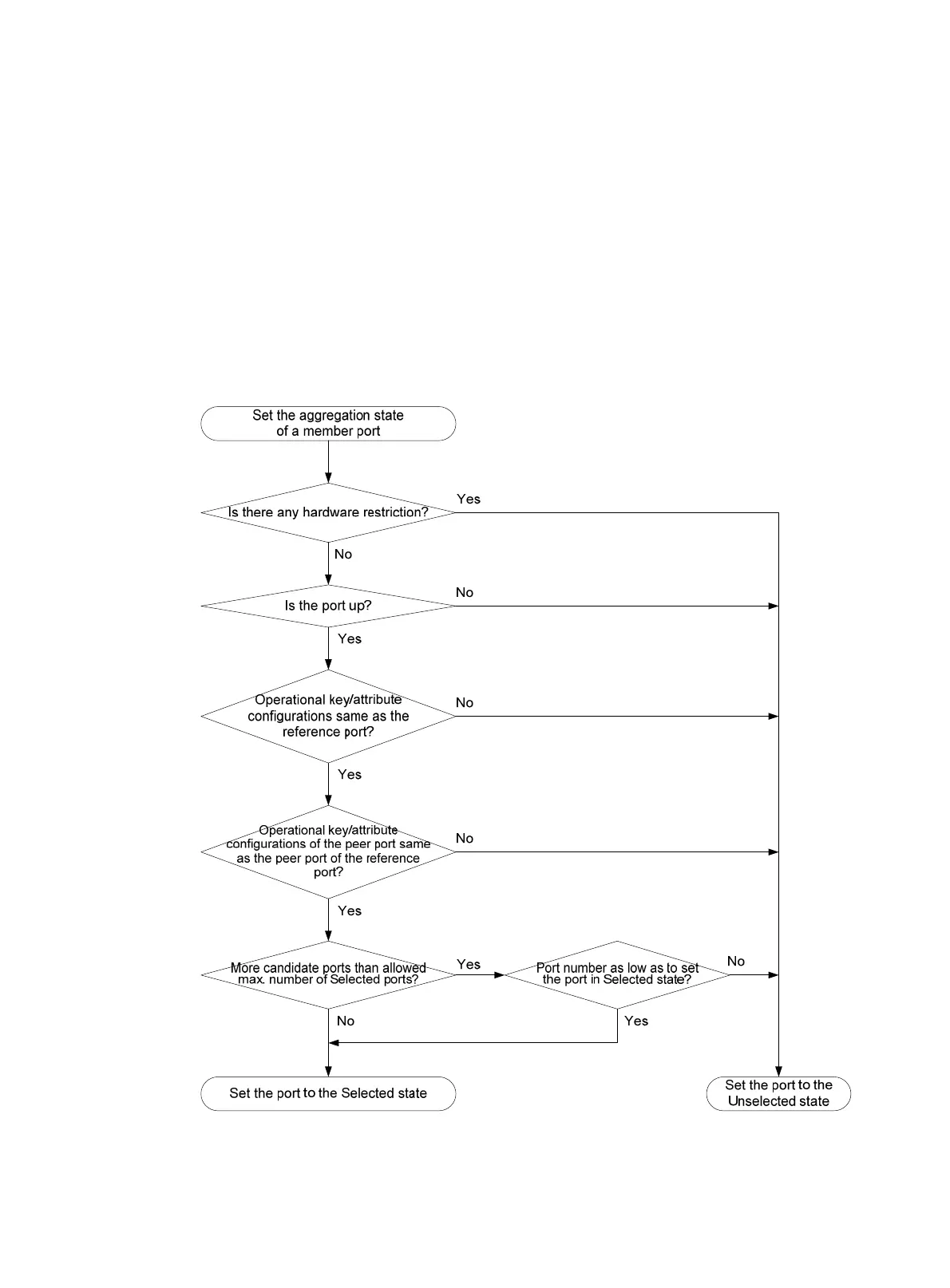
b. The system with the smaller system ID chooses the port with the smallest port ID as the
reference port.
A port ID contains a port priority and a port number. The lower the port priority, the smaller
the port ID.
The system chooses the port with the lowest priority value as the reference port.
If ports have the same priority, the system proceeds to the next step.
The system compares their port numbers.
The smaller the port number, the smaller the port ID.
The port with the smallest port number and the same attribute configurations as the
aggregate interface is chosen as the reference port.
After the reference port is chosen, the system with the smaller system ID sets the state of each
member port on its side.
Figure 6 Setting the state of a member port in a dynamic aggregation group

Table of Contents

Other manuals for HPE OfficeConnect 1950 Series

Related product manuals